Запчасти Case CX350C (08-012[00]) - HYDRAULIC CIRCUIT - DIPPER CYLINDER - MONOBLOCK BOOM (08) - HYDRAULICS

Схема запчастей Case CX350C - (08-012[00]) - HYDRAULIC CIRCUIT - DIPPER CYLINDER - MONOBLOCK BOOM (08) - HYDRAULICS
2
13
4
3
13
8
5
6
3
1
4
5
9
12
12
7
10
15
11
16
14
14
2
FIT
1:1
100%

Артикул

Название

Примечание

Количество

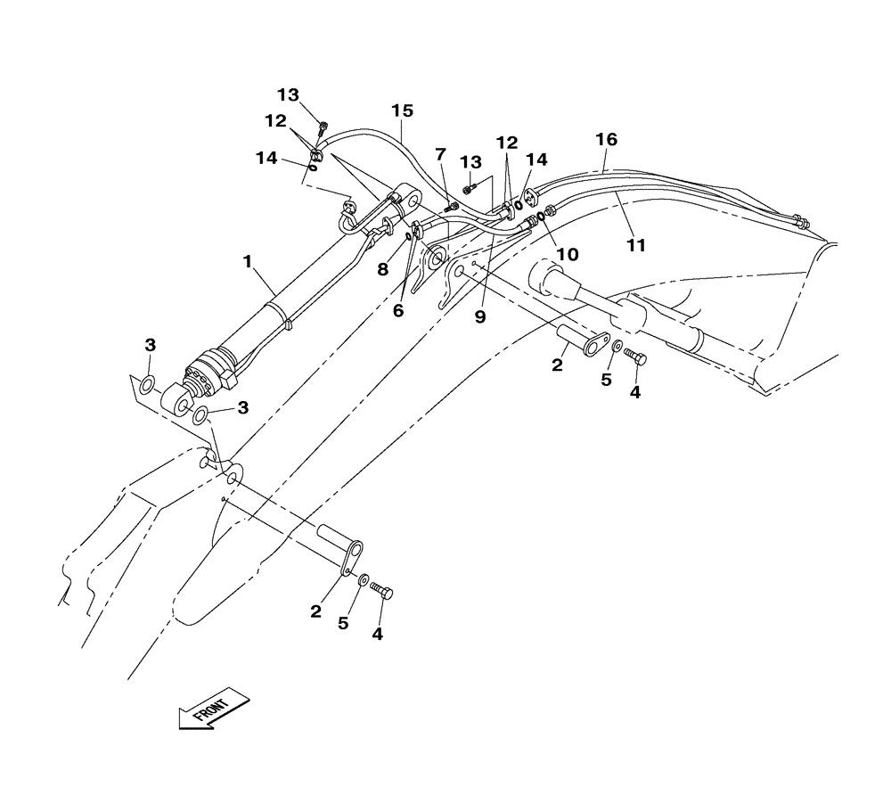
1

KSV1927

HYDRAULIC CYLINDER

1шт.

See Figure(s) 08-302-00 01

1шт.

1

KSV1927R

REMAN-HYD CYLINDER

CX350C CRAWLER EXCAVATOR TIER 4 (NA)

1шт.

1

KSV1927C

CORE-HYD CYLINDER

Return Number

1шт.

2

KSV21500

PIN

2шт.

3

158451A1

SPACER

1.2 mm

2шт.

4

102R020Y035R

BOLT

M20 x 35

2шт.

5

KTV1185

SPACER

2шт.

6

150124A1

FLANGE

2шт.

7

862-14050

HEX SOC SCREW,M14 x 50mm, Cl 12.9

4шт.

8

164450A1

O-RING

1шт.

9

KSV21280

HOSE ASSY.

1шт.

10

KHJ1361

O-RING,0.07" Thk x 0.926" ID

, Serial Range: -10

1шт.

11

KSV20480

HYD TUBE

1шт.

12

150124A1

FLANGE

4шт.

13

862-14050

HEX SOC SCREW,M14 x 50mm, Cl 12.9

8шт.

14

164450A1

O-RING

2шт.

15

KSV22290

HYDRAULIC HOSE

1350 mm

1шт.

16

KSV21050

HYD TUBE

1шт.

Выбрано товаров: 19