Запчасти Case CX350C (08-039[00]) - HIGH PRESSURE PUMP - PUMP, PILOT CONTROL - WITH AUXILIARY HYDRAULICS (08) - HYDRAULICS

Схема запчастей Case CX350C - (08-039[00]) - HIGH PRESSURE PUMP - PUMP, PILOT CONTROL - WITH AUXILIARY HYDRAULICS (08) - HYDRAULICS
5
3
17
21
10
15
2
6
8
12
9
7
22
4
19
14
18
13
11
1
23
8
20
23
FIT
1:1
100%

Артикул

Название

Примечание

Количество

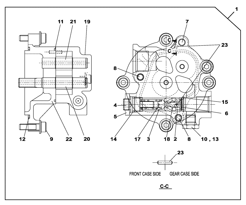
1

LJ017430

HYDRAULIC PUMP

1шт.

Include(s) 2 - 23

1шт.

3

LG00536

SPRING

1шт.

4

LF00043

ADJUSTER

1шт.

5

163662A1

LOCK NUT

1шт.

6

163663A1

FILTER

1шт.

7

LA00593

BOLT,Hex Skt, M8 x 50mm, Cl 12.9

2шт.

8

LA00594

BOLT,Hex Skt, M8 x 65mm, Cl 12.9

2шт.

9

LA00592

BOLT,Hex Skt, M10 x 30mm, Cl 12.9

4шт.

10

155496A1

PLUG

1шт.

11

163667A1

SEALING RING

1шт.

12

LE015120

O-RING

1шт.

13

154467A1

O-RING,10.8mm ID x 2.4mm Width

1шт.

14

154483A1

O-RING

1шт.

15

163668A1

RING, LOCKING

RING, LOCK

1шт.

16

LC003200

GEAR

1шт.

17

NSS

NOT SOLD SEPARAT

1шт.

18

NSS

NOT SOLD SEPARAT

1шт.

19

NSS

NOT SOLD SEPARAT

1шт.

20

NSS

NOT SOLD SEPARAT

1шт.

21

NSS

NOT SOLD SEPARAT

1шт.

22

NSS

NOT SOLD SEPARAT

1шт.

23

NSS

NOT SOLD SEPARAT

2шт.

Выбрано товаров: 23