Запчасти Case CX350C (02-001[02]) - ENGINE MOUNTING - ENGINE - OIL CIRCUIT (02) - ENGINE

Схема запчастей Case CX350C - (02-001[02]) - ENGINE MOUNTING - ENGINE - OIL CIRCUIT (02) - ENGINE
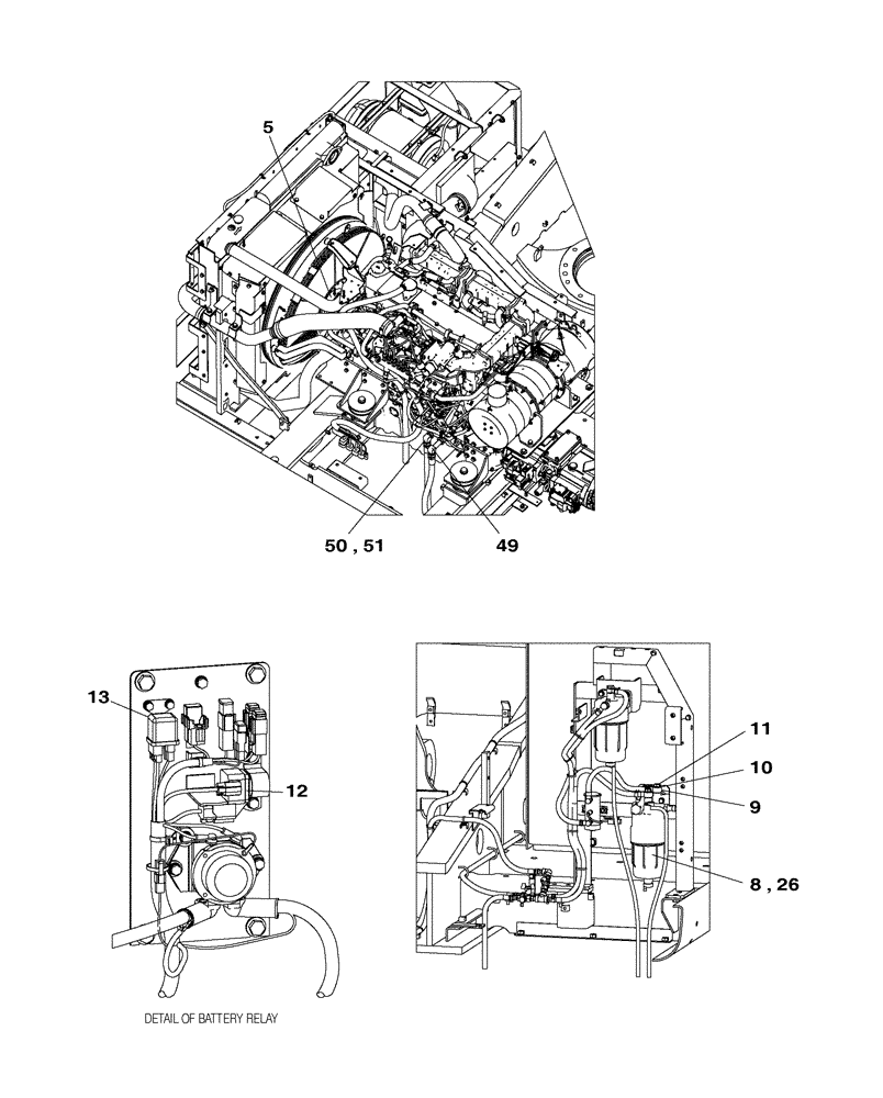
10
51
26
13
9
11
5
49
8
50
12
FIT
1:1
100%

Артикул

Название

Примечание

Количество

5

NSS

NOT SOLD SEPARAT

1шт.

8

NSS

NOT SOLD SEPARAT

1шт.

9

KHH13380

JOINT

2шт.

10

KHH12610

PACKING RING

4шт.

11

KHH12600

SCREW

2шт.

12

NSS

NOT SOLD SEPARAT

1шт.

13

NSS

NOT SOLD SEPARAT

1шт.

26

NSS

NOT SOLD SEPARAT

1шт.

49

KHJ22650

ELBOW

1шт.

50

157580A1

ELBOW,90 Degree, 3/4" O-Ring x 3/4"

1шт.

Include(s) 51

1шт.

51

154503A1

O-RING

1шт.

Выбрано товаров: 12