Запчасти Case CX350C (02-002[02]) - AIR FILTRATION (02) - ENGINE

Схема запчастей Case CX350C - (02-002[02]) - AIR FILTRATION (02) - ENGINE
8
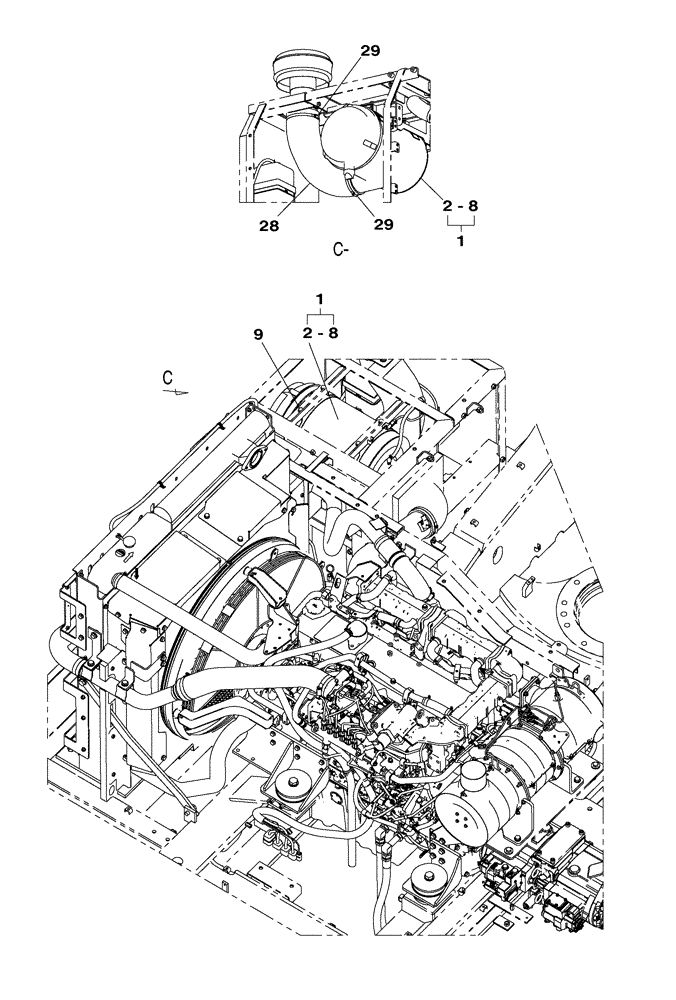
1
2
8
9
1
29
29
28
2
FIT
1:1
100%

Артикул

Название

Примечание

Количество

1

KSH10150

AIR CLEANER

1шт.

Include(s) 2 - 8

1шт.

2

KSH10160

AIR CLEANER

1шт.

3

KSH0932

AIR FILTER

1шт.

4

KSH0933

AIR FILTER

1шт.

5

KSH0934

COVER

1шт.

6

KBH0924

VALVE

1шт.

7

KSH0935

FITTING

1шт.

8

NSS

NOT SOLD SEPARAT

1шт.

9

166347A1

BOLT,Sems, M10 x 30mm

4шт.

28

KSH10140

LARGE HOSE

HOSE,LARGE

1шт.

29

158840A1

BAND,133mm - 158mm

2шт.

Выбрано товаров: 12