Запчасти Case CX350C (09-030[01]) - MONOBLOCK BOOM - 6.45 M - CX350C - CX350C NLC (09) - CHASSIS/ATTACHMENTS

Схема запчастей Case CX350C - (09-030[01]) - MONOBLOCK BOOM - 6.45 M - CX350C - CX350C NLC (09) - CHASSIS/ATTACHMENTS
22
24
20
31
24
29
28
30
28
26
21
25
27
26
31
20
23
25
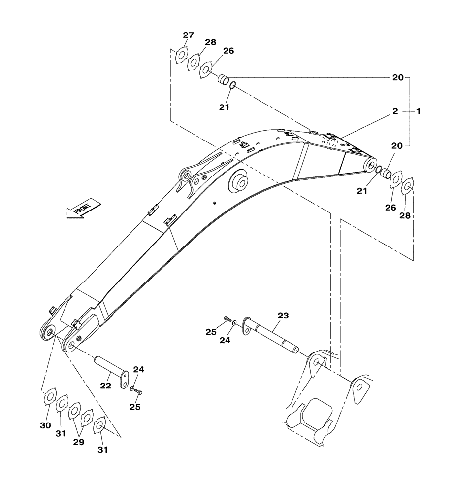
1
2
21
FIT
1:1
100%

Артикул

Название

Примечание

Количество

1

KSV21820

BOOM

1шт.

Include(s) 2, 20

1шт.

2

NSS

NOT SOLD SEPARAT

1шт.

20

KSV1313

BUSHING

2шт.

21

162103A1

SEAL,110mm ID x 125mm OD x 5mm Thk

2шт.

22

KSV21480

PIN

1шт.

23

KSV21490

PIN

1шт.

24

KTV1185

SPACER

2шт.

25

102R020Y035R

BOLT

M20 x 35

2шт.

26

KSV1930

SHIM

1шт.

27

KSV20470

SHIM

T=1.5 mm

1шт.

28

KSV11380

SHIM,2mm Thk

2шт.

29

KSV1931

SHIM

2 mm

1шт.

30

KSV22080

SHIM

T=1.5 mm

1шт.

31

KSV11390

SHIM

2шт.

Выбрано товаров: 15