Запчасти Case CX350C (09-031[00]) - LUBRICATION CIRCUIT - MONOBLOCK BOOM 6.45 M (09) - CHASSIS/ATTACHMENTS

Схема запчастей Case CX350C - (09-031[00]) - LUBRICATION CIRCUIT - MONOBLOCK BOOM 6.45 M (09) - CHASSIS/ATTACHMENTS
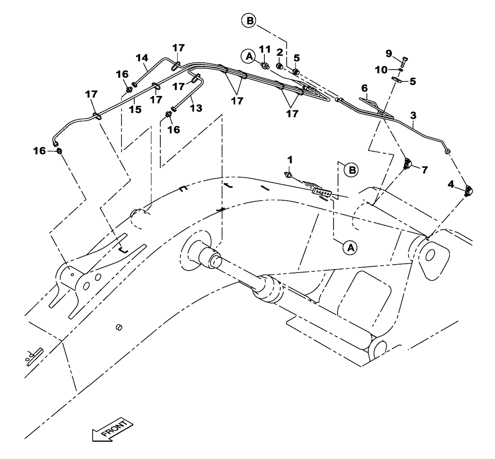
17
16
13
14
9
15
17
1
10
11
17
2
3
17
7
16
5
5
17
6
17
4
16
FIT
1:1
100%

Артикул

Название

Примечание

Количество

1

153630A1

LUBE NIPPLE

5шт.

2

152599A1

MULTIPOLE CONNECTOR

1шт.

3

KSV15750Y2

HYD TUBE

1шт.

4

152627A1

ELBOW

1шт.

5

152599A1

MULTIPOLE CONNECTOR

1шт.

6

KSV15760Y2

HYD TUBE

1шт.

7

152627A1

ELBOW

1шт.

8

153774A1

CLAMP

1шт.

9

627-8030

BOLT,Hex, M8 x 1.25 x 30mm, Cl 10.9, Full Thd

1шт.

10

153081A1

WASHER

1шт.

11

KRJ4050

ADAPTER

3шт.

13

KHJ2172

HOSE

2950 mm

1шт.

14

KHJ2174

HOSE

3100 mm

1шт.

15

KHJ2082

HOSE

3400 mm

1шт.

16

153603A1

ADAPTER

3шт.

17

150067A1

MOUNTING CLIP

150 mm

10шт.

Выбрано товаров: 16