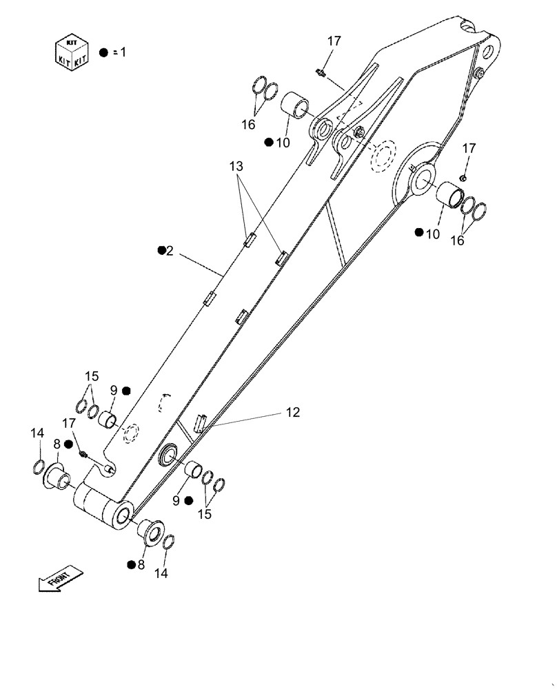
Запчасти Case CX350C (09-037[010]) - DIPPER - 3.25 M - CX350C - CX350C NLC (09) - CHASSIS/ATTACHMENTS

Схема запчастей Case CX350C - (09-037[010]) - DIPPER - 3.25 M - CX350C - CX350C NLC (09) - CHASSIS/ATTACHMENTS
1
15
1
16
16
9
10
15
17
8
8
14
17
14
10
1
17
1
12
2
1
9
1
1
13
1
FIT
1:1
100%

Артикул

Название

Примечание

Количество

1

KSV17470

DIPPER

1шт.

Include(s) 2, 8 - 10

1шт.

2

NSS

NOT SOLD SEPARAT

1шт.

8

KSV1407

BUSHING

2шт.

9

KSV1311

BUSHING

2шт.

10

KSV1312

BUSHING

2шт.

12

KHV11110

BAR

2шт.

13

KBV14270

BAR

4шт.

14

159648A1

SEAL,90mm ID x 105mm OD x 5mm Thk

2шт.

15

160401A1

SEAL,85mm ID x 100mm OD x 5mm Thk

4шт.

16

163002A1

SEAL

4шт.

17

153630A1

LUBE NIPPLE

2шт.

Выбрано товаров: 12