Качественные детали и логистика
Оригинальные и аналоговые запчасти с доставкой по России, Казахстану и Беларуси
©2022 PartSell ООО "Система" ИНН 2463123282 ОГРН 1212400004838
Центральный офис: г. Красноярск, Академика Киренского, д.87, пом.4
Телефон: 8 (800) 777-65-74 Email: zakaz@partsell.ru
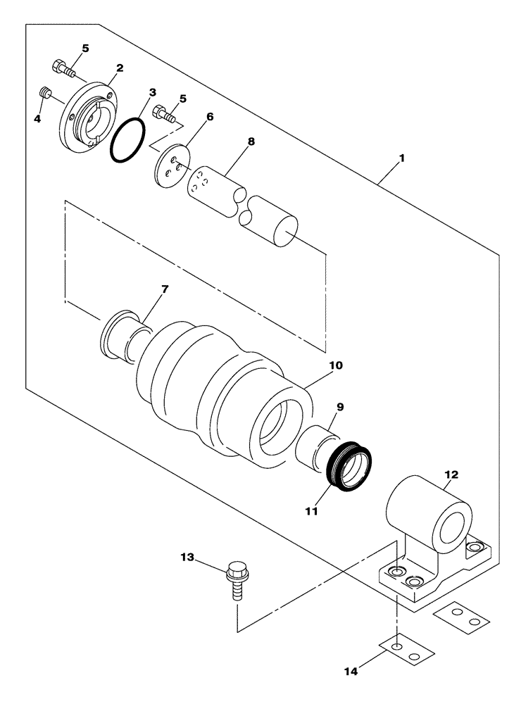
(05-002[00]) - ROLLER UPPER
№
Артикул
Название
Примечание
Количество
1
KBA1141
ROLLER ASSY.
4шт.
Include(s) 2 - 13
1шт.
2
KTA1149
COVER
3
154703A1
O-RING,0.001mm ID x 0.001mm Width
4
150821A1
PLUG
1/4
5
627-10030
BOLT,Hex, M10 x 1.5 x 30mm, Cl 10.9, Full Thd
6шт.
6
166555A1
PLATE, THRUST
7
160423A1
BUSHING,65mm ID x 87mm OD x 69mm L
8
166556A1
PIN
9
166557A1
BEARING
10
KTA1104
SHIFTER ROLLER
11
166559A1
SEAL
12
KSA1268
CASING, BEARING ROLL
13
105R020Y050R
BOLT
M20 x 50
16шт.
14
KSA1147
SHIM
Выбрано товаров: 0