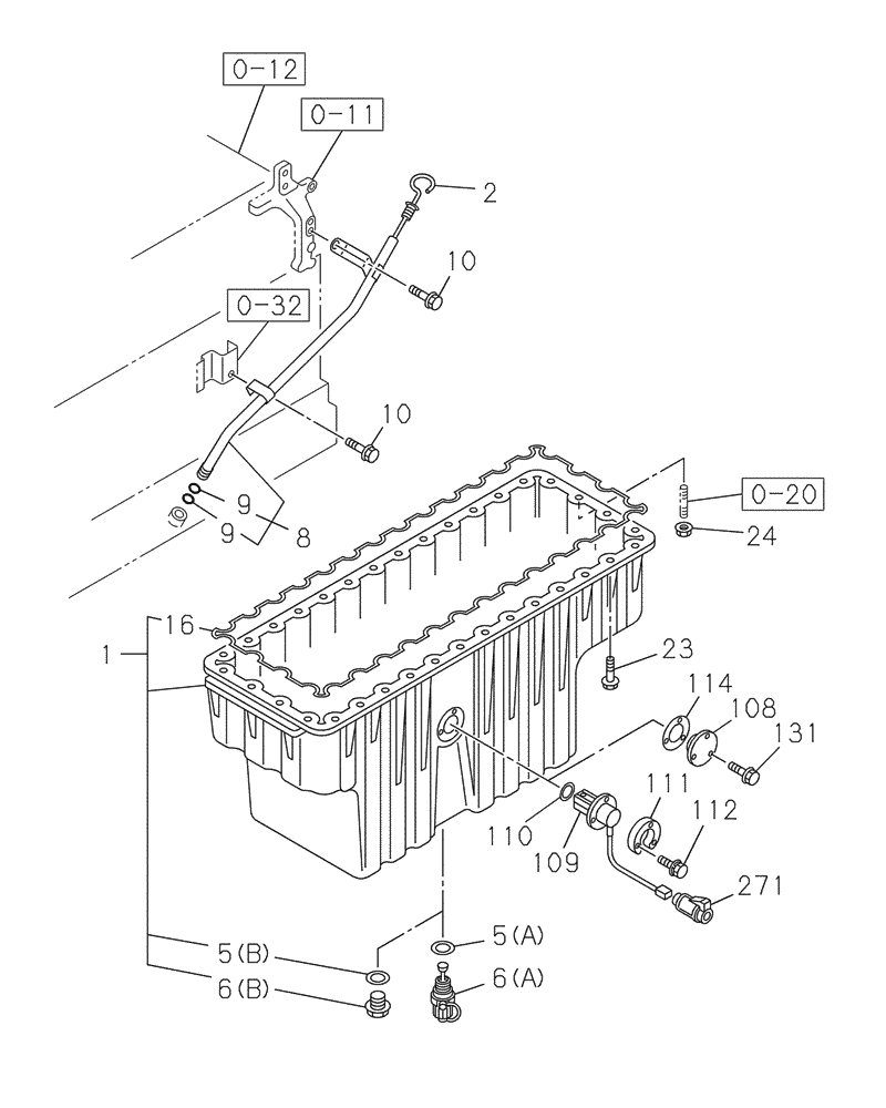
Запчасти Case CX350C (02-009[00]) - OIL PAN (02) - ENGINE

Схема запчастей Case CX350C - (02-009[00]) - OIL PAN (02) - ENGINE
109
108
0-20
10
6 b
0-32
9
271
114
2
8
24
112
16
110
111
5 b
5 a
6 a
131
9
23
1
0-11
10
3
FIT
1:1
100%

Артикул

Название

Примечание

Количество

0-11

84389425

BRACKET, SUPPORTING

1шт.

See Figure(s) 02-011-01 01

1шт.

0-12

84388059

CYLINDER BLOCK,6 Cylinders

1шт.

See Figure(s) 02-012-01 01

1шт.

0-20

84387980

STUD

1шт.

See Figure(s) 02-020-01 01

1шт.

0-32

84389440

BRACKET, SUPPORTING

1шт.

See Figure(s) 02-032-01 01

1шт.

1

84388890

ENGINE OIL PAN

1шт.

Include(s) 5B, 6B, 16

1шт.

2

87377942

DIPSTICK

1шт.

5a

87378135

GASKET

1шт.

5b

87393862

OIL PAN GASKET SET

1шт.

6a

87393863

PLUG

1шт.

6b

87378136

PLUG

1шт.

8

84389445

TUBE

1шт.

Include(s) 9

1шт.

9

84387726

GASKET

2шт.

10

87595866

BOLT

2шт.

16

84388907

GASKET

1шт.

23a

87595879

BOLT

29шт.

23b

87595918

BOLT

1шт.

24

87595271

NUT

4шт.

108

86987195

COVER

1шт.

114

437876A1

GASKET

1шт.

131

87595952

BOLT

3шт.

Выбрано товаров: 26