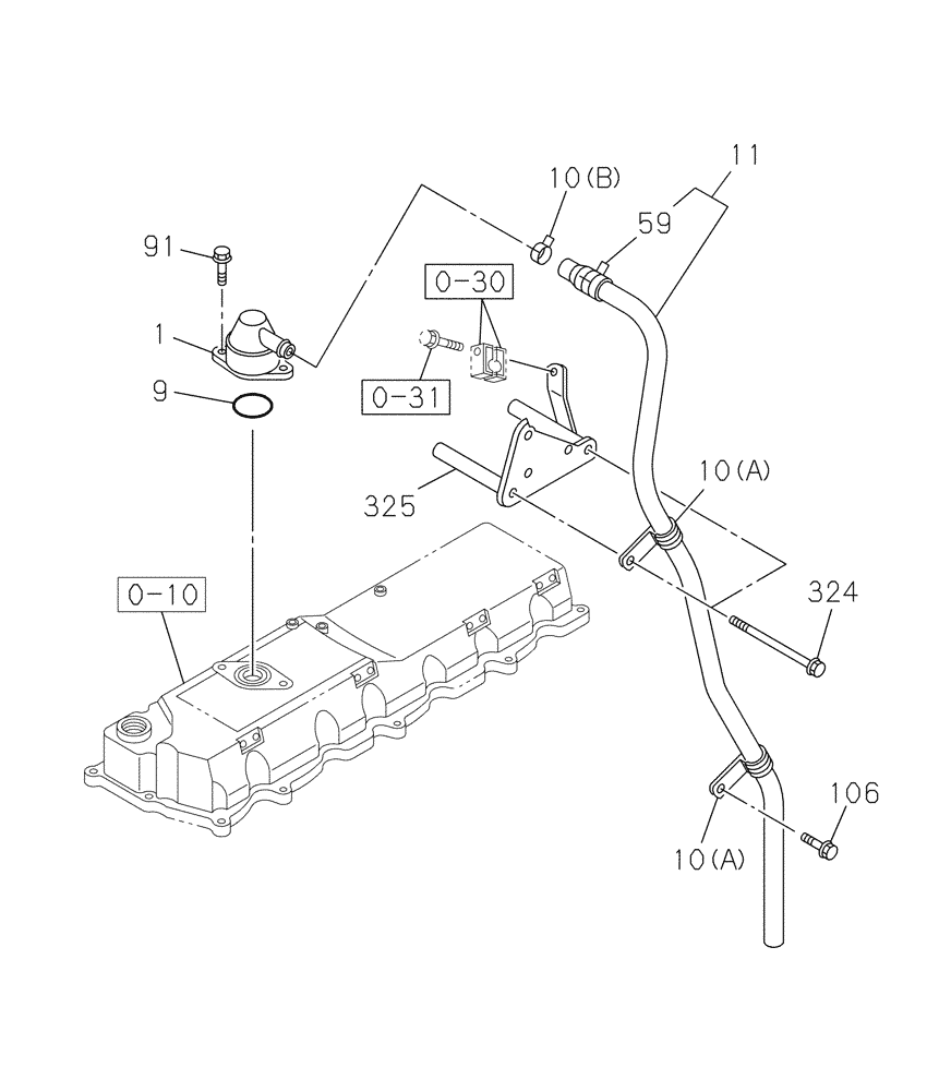
Запчасти Case CX350C (02-017[00]) - BREATHER (02) - ENGINE

Схема запчастей Case CX350C - (02-017[00]) - BREATHER (02) - ENGINE
325
0-30
0-31
11
1
9
10 a
59
10 a
91
0-10
106
10 b
324
FIT
1:1
100%

Артикул

Название

Примечание

Количество

0-10

84389021

VALVE COVER

1шт.

See Figure(s) 02-011-01 01

1шт.

0-30

84388036

CLIP

1шт.

See Figure(s) 02-030-02 01

1шт.

0-31

87596874

BOLT

1шт.

See Figure(s) 02-030-02 01

1шт.

1

87378557

BREATHER

1шт.

9

72110327

SEAL

1шт.

10a

87378559

CLIP

2шт.

10b

426078A1

CLIP

1шт.

11

84387730

INTAKE AIR HOSE

1шт.

Include(s) 59

1шт.

59

438027A1

CLAMP

1шт.

91

87596428

BOLT

2шт.

106

87596428

BOLT

1шт.

324

84387675

BOLT

2шт.

325

84388075

BRACKET, SUPPORTING

1шт.

Выбрано товаров: 17