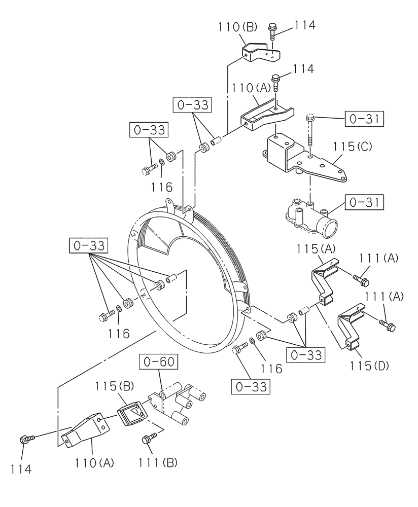
Запчасти Case CX350C (02-029[00]) - BRACKET - FAN GUARD (02) - ENGINE

Схема запчастей Case CX350C - (02-029[00]) - BRACKET - FAN GUARD (02) - ENGINE
111 b
0-33
0-33
0-31
0-33
116
0-33
111 a
114
0-33
111 a
0-60
115 a
0-31
115 b
116
110 b
115 d
115 c
114
116
114
110 a
110 a
FIT
1:1
100%

Артикул

Название

Примечание

Количество

0-31

87378562

PIPE

1шт.

See Figure(s) 02-031-01 01

1шт.

0-33

419726A1

RUBBER WASHER

1шт.

See Figure(s) 02-033-01 01

1шт.

0-60

72109824

BRACKET

1шт.

See Figure(s) 04-060-01 01

1шт.

110a

87380203

STAY

2шт.

111a

87597884

BOLT

2шт.

111b

87597886

BOLT

2шт.

114

87597886

BOLT

4шт.

115a

87379348

BRACKET

1шт.

115b

87379349

BRACKET

1шт.

115c

87379351

BRACKET

1шт.

116

87597971

WASHER

3шт.

Выбрано товаров: 14