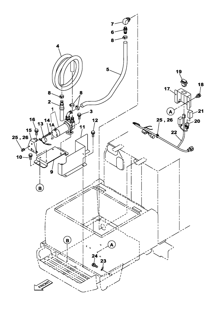
Запчасти Case CX350C (03-004[00]) - FUEL FILLING PUMP - OPTIONAL (03) - FUEL SYSTEM

Схема запчастей Case CX350C - (03-004[00]) - FUEL FILLING PUMP - OPTIONAL (03) - FUEL SYSTEM
26
26
3
17
25
1
21
2
9
6
7
8
25
20
16
4
1a
23
13
18
11
24
8
12
15
8
5
14
22
10
19
FIT
1:1
100%

Артикул

Название

Примечание

Количество

1

KHR12840

FUEL PUMP

50L

1шт.

Include(s) 1A

1шт.

1a

KHR4053

FUSE

Fuse 10A

1шт.

Not illustrated

1шт.

2

KHR12430

VALVE SECTION

1шт.

3

166347A1

BOLT,Sems, M10 x 30mm

M10 x 30

2шт.

4

KHR11460

FUEL HOSE

4000 mm

1шт.

5

KHR12910

FUEL HOSE

1200 mm

1шт.

6

KHR11480

LUBE NIPPLE

1шт.

7

KHJ2320

ELBOW

1шт.

8

157917A1

COLLAR

4шт.

9

KHR12860

SUPPORT

1шт.

10

166351A1

BOLT,Sems, M10 x 20mm

M10 x 20

2шт.

11

KHR15090

COVER

1шт.

12

166351A1

BOLT,Sems, M10 x 20mm

M10 x 20

3шт.

13

KHR4024

ALARM

1шт.

14

KHR1832

SPECIAL BOLT

M5 x 25

1шт.

15

KHR12880

SUPPORT

1шт.

16

166345A1

BOLT

M8 x 16

2шт.

17

KHR15080

COVER

1шт.

18

159602A1

BOLT,Sems, Hex, M6 x 16mm

M6 x 12

2шт.

19

KHR12900

SWITCH

1шт.

20

KHR3802

RELAY

2шт.

21

159904A1

COVER

2шт.

22

KHR15101

HARNESS

1шт.

23

KHR16450

CLIP

1шт.

24

KHJ1215

BOLT,Spcl

M8 x 25

1шт.

25

KHR10220

MOUNTING CLIP

2шт.

26

150496A1

MOUNTING CLIP

250 mm

2шт.

Выбрано товаров: 29