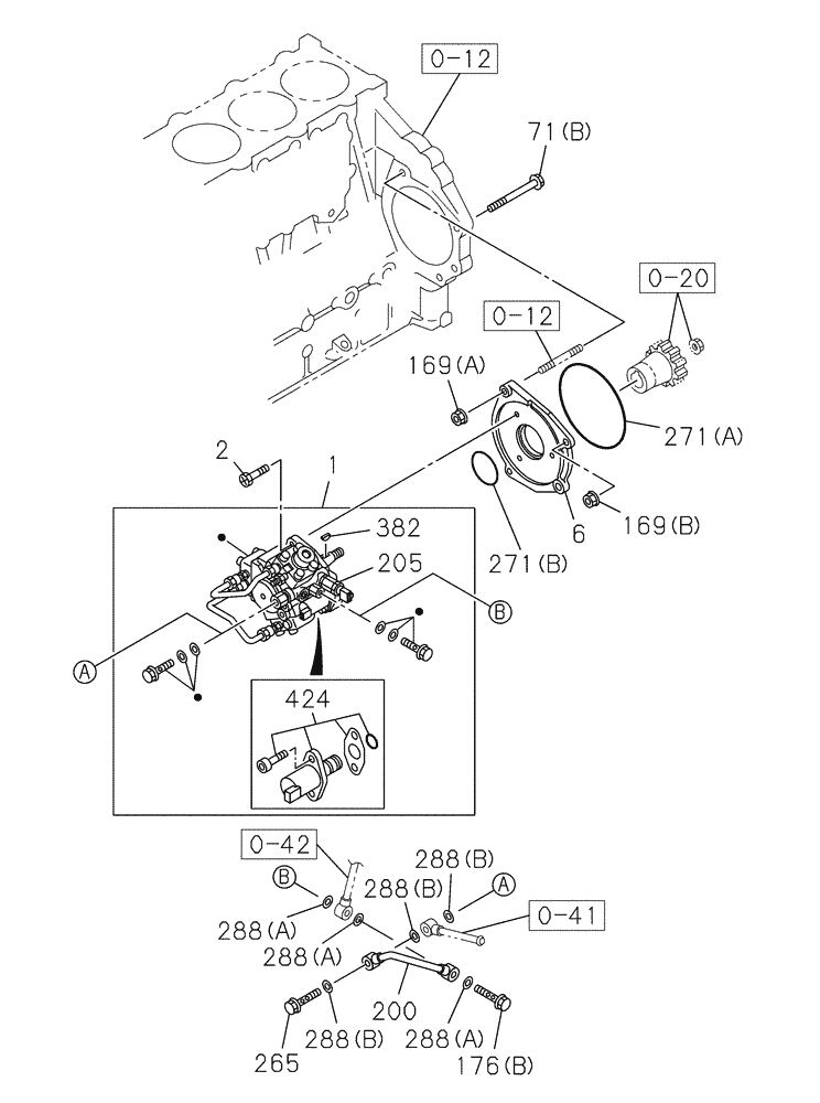
Запчасти Case CX350C (03-005[00]) - FUEL INJECTION PUMP (03) - FUEL SYSTEM

Схема запчастей Case CX350C - (03-005[00]) - FUEL INJECTION PUMP (03) - FUEL SYSTEM
169 b
382
169 a
71 b
271 a
200
424
288 b
0-12
288 b
0-20
0-12
1
6
265
288 b
288 a
0-41
288 a
205
1
288 a
176 b
1
1
271 b
0-42
2
FIT
1:1
100%

Артикул

Название

Примечание

Количество

0-12

84388059

CYLINDER BLOCK,6 Cylinders

1шт.

See Figure(s) 02-012-01 01

1шт.

0-20

87378538

GEAR

1шт.

See Figure(s) 02-020-01 01

1шт.

0-41

87379088

PIPE

1шт.

See Figure(s) 03-041-01 01

1шт.

0-42

87379095

RETURN PIPE

1шт.

See Figure(s) 03-042-01 01

1шт.

1

84390958

FUEL INJECTION PUMP

1шт.

84390958R

REMAN-INJECTION PUMP

CX350C TIER 4 (NA)

1шт.

84390958C

CORE-INJECTION PUMP

Return number

1шт.

Include(s) 205, 382, 424

1шт.

2

87379779

BOLT

3шт.

6

87378839

BRACKET

1шт.

71b

87596641

BOLT

1шт.

169a

87596885

NUT

2шт.

169b

87596539

NUT

1шт.

176b

87379798

BOLT

1шт.

200

87378848

PIPE

1шт.

205

87486278

SENSOR

1шт.

265

87710949

HOLLOW SCREW

1шт.

271a

72109626

SEAL

1шт.

271b

87596907

GASKET

1шт.

288a

289092A1

GASKET

3шт.

288b

87559647

OIL PAN GASKET SET

3шт.

382

84389027

KEY

1шт.

424

84389442

SEAL KIT

1шт.

Выбрано товаров: 0