Запчасти Case CX350C (04-015[00]) - ELECTRICAL CIRCUIT (04) - ELECTRICAL SYSTEMS

Схема запчастей Case CX350C - (04-015[00]) - ELECTRICAL CIRCUIT (04) - ELECTRICAL SYSTEMS
6
14
16
7
13
3
5
4
16
10
16
11
8
16
1
1
16
16
5
16
16
16
16
16
15
9
2
16
16
12
FIT
1:1
100%

Артикул

Название

Примечание

Количество

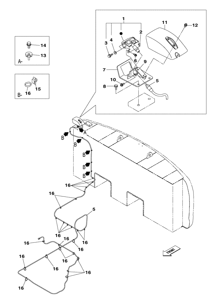
1

KHR23830

VIDEO CAMERA

1шт.

Include(s) 2 - 4

1шт.

2

KHR28180

BRACKET

1шт.

3

KHR28190

BOLT

4шт.

4

KHR28200

BUSHING

4шт.

5

KHR26700

WIRE HARNESS

1шт.

6

KHN2132

BOLT,Hex Flg Hd, M6 x 16

2шт.

7

KHR28630B1

BRACKET, SUPPORTING

1шт.

8

166350A1

BOLT

M8 x 20

2шт.

9

157806A1

COLLAR

1шт.

10

KHN2132

BOLT,Hex Flg Hd, M6 x 16

1шт.

11

KHR28640

COVER

1шт.

12

KHN2132

BOLT,Hex Flg Hd, M6 x 16

2шт.

13

KHR2584

CLAMP

1шт.

14

167320A1

BOLT,Spcl, M8 x 20mm

M8 x 20

1шт.

15

KHR10220

MOUNTING CLIP

5шт.

16

150496A1

MOUNTING CLIP

250 mm

31шт.

Выбрано товаров: 17