Запчасти Case CX470C (04-023-00[01]) - ELECTRICAL CIRCUIT - SIDE (06) - ELECTRICAL SYSTEMS

Схема запчастей Case CX470C - (04-023-00[01]) - ELECTRICAL CIRCUIT - SIDE (06) - ELECTRICAL SYSTEMS
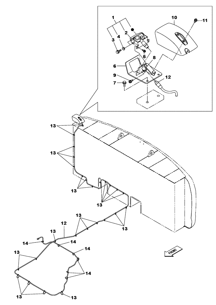
13
13
1
13
5
14
11
13
14
12
9
10
4
13
1
6
14
8
13
13
13
7
14
3
13
2
13
12
FIT
1:1
100%

Артикул

Название

Примечание

Количество

1

KHR23830

VIDEO CAMERA

1шт.

Include(s) 2 - 4

1шт.

2

KHR28180

BRACKET

1шт.

3

KHR28190

BOLT

4шт.

4

KHR28200

BUSHING

4шт.

5

KHN2132

BOLT,Hex Flg Hd, M6 x 16

2шт.

6

KHR28630B1

BRACKET, SUPPORTING

1шт.

7

166350A1

BOLT

2шт.

8

157806A1

COLLAR

1шт.

9

KHN2132

BOLT,Hex Flg Hd, M6 x 16

1шт.

10

KHR28640

COVER

1шт.

11

KHN2132

BOLT,Hex Flg Hd, M6 x 16

2шт.

12

KHR26700

WIRE HARNESS

1шт.

13

150496A1

MOUNTING CLIP

25шт.

14

150496A1

MOUNTING CLIP

7шт.

15

KHP18460

DECAL

1шт.

Not Illustrated

1шт.

Выбрано товаров: 17