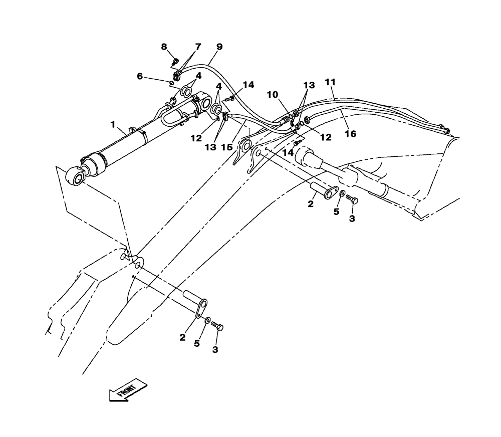
Запчасти Case CX470C (08-017-01[01]) - HYDRAULIC CIRCUIT - DIPPER CYLINDER - WITHOUT SAFETY VALVE (07) - HYDRAULIC SYSTEM

Схема запчастей Case CX470C - (08-017-01[01]) - HYDRAULIC CIRCUIT - DIPPER CYLINDER - WITHOUT SAFETY VALVE (07) - HYDRAULIC SYSTEM
12
16
14
13
8
2
15
14
1
6
4
3
11
10
7
5
2
13
3
9
12
4
5
FIT
1:1
100%

Артикул

Название

Примечание

Количество

1

KTV12731

HYDRAULIC CYLINDER

1шт.

See Figure(s) 08-302-00 01

1шт.

2

KTV16350

PIN

2шт.

3

102R020Y035R

BOLT

M20 x 35

2шт.

4

KMV1518

SHIM,0.6mm Thk

2шт.

5

KTV1185

SPACER

2шт.

6

164450A1

O-RING

2шт.

7

150124A1

FLANGE

2шт.

8

862-14050

HEX SOC SCREW,M14 x 50mm, Cl 12.9

4шт.

9

KTV16290

HYDRAULIC HOSE

1шт.

10

KHJ1361

O-RING,0.07" Thk x 0.926" ID

, Serial Range: -10

1шт.

11

KTV14521

HYD TUBE

1шт.

12

164450A1

O-RING

2шт.

13

150124A1

FLANGE

4шт.

14

862-14050

HEX SOC SCREW,M14 x 50mm, Cl 12.9

8шт.

15

KTV13280

HYDRAULIC HOSE,1400.00 mm

1шт.

16

KTV14531

HYD TUBE,42.70mm OD x 2753.90mm L

1шт.

Выбрано товаров: 17