Запчасти Case CX470C (08-205-00[01]) - CONTROL VALVE (07) - HYDRAULIC SYSTEM

Схема запчастей Case CX470C - (08-205-00[01]) - CONTROL VALVE (07) - HYDRAULIC SYSTEM
64
87
63
87
97
18
33
15
62
34
19
18
95
80
61
60
31
59
78
19
63
54
96
95
97
56
58
15
65
16
68
83
35
79
67
70
69
16
95
133
85
33
32
82
118
84
53
55
17
86
98
97
35
17
53
66
57
34
97
81
FIT
1:1
100%

Артикул

Название

Примечание

Количество

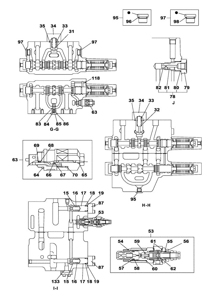
KTJ14350

CONTROL VALVE

1шт.

15

LJ00727

VALVE POPPET

2шт.

16

LG00341

SPRING

2шт.

17

LH00251

SPACER

2шт.

18

154507A1

O-RING

2шт.

19

153987A1

BACK-UP RING

2шт.

31

LJ00978

POPPET

1шт.

32

LJ00979

POPPET

1шт.

33

164497A1

SPRING

2шт.

34

LH004510

FLANGE

2шт.

35

154575A1

O-RING

2шт.

53

LJ00981

VALVE, PRESSURE RELI

EF

1шт.

Include(s) 54 - 62

1шт.

54

LBQ7916

O-RING

1шт.

55

155222A1

O-RING

1шт.

56

159985A1

BACK-UP RING

1шт.

57

154497A1

O-RING

1шт.

58

153976A1

BACK-UP RING

1шт.

59

154470A1

O-RING

1шт.

60

LBQ7916

O-RING

1шт.

61

154538A1

O-RING

2шт.

62

154462A1

O-RING

1шт.

63

164457A1

VALVE

ASSEMBLY - relief

1шт.

Include(s) 64 - 70

1шт.

64

155223A1

O-RING

1шт.

65

154463A1

O-RING

1шт.

66

LBQ7113

O-RING

1шт.

67

164905A1

BACK-UP RING

1шт.

68

LBQ7011

O-RING

1шт.

69

154475A1

O-RING

1шт.

70

155223A1

O-RING

1шт.

78

LK00303

PLUG

1шт.

Include(s) 79 - 82

1шт.

79

LK00322

PLUG

1шт.

80

154487A1

O-RING

1шт.

81

155086A1

O-RING

1шт.

82

154458A1

O-RING

1шт.

83

LJ00984

POPPET

1шт.

84

156026A1

SPRING

1шт.

85

155464A1

PLUG

1шт.

86

155222A1

O-RING

1шт.

87

LH00250

CAP

3шт.

95

163370A1

PLUG

1шт.

Include(s) 96

1шт.

96

154487A1

O-RING

1шт.

97

163970A1

PLUG

2шт.

Include(s) 98

1шт.

98

154503A1

O-RING

2шт.

118

NSS

NOT SOLD SEPARAT

Ball

1шт.

133

LE01003

O-RING

1шт.

Выбрано товаров: 50