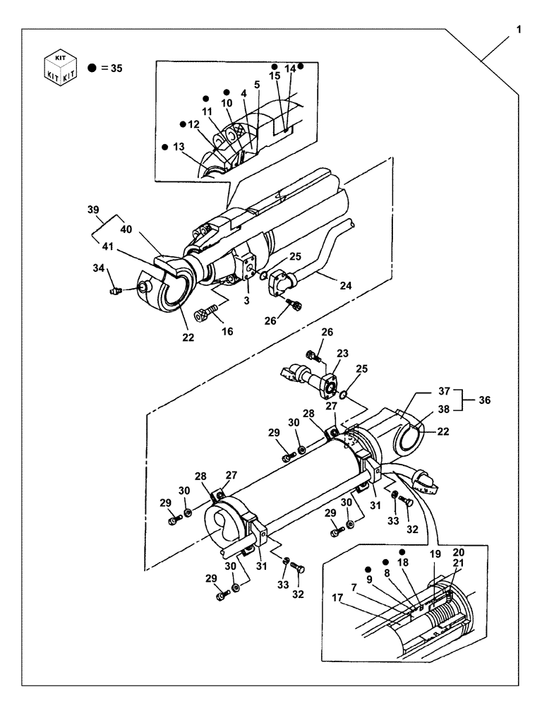
Запчасти Case CX470C (08-303-00[01]) - BUCKET CYLINDER (Aug 16 2011 9:01AM) (07) - HYDRAULIC SYSTEM

Схема запчастей Case CX470C - (08-303-00[01]) - BUCKET CYLINDER (Aug 16 2011 9:01AM) (07) - HYDRAULIC SYSTEM
8
9
27
35
37
11
17
24
21
22
16
32
35
20
22
38
33
18
30
40
36
34
28
29
35
35
7
29
14
3
4
31
35
5
32
13
27
41
35
33
26
35
36
30
35
10
29
39
19
25
35
29
23
12
1
28
35
30
31
15
25
30
FIT
1:1
100%

Артикул

Название

Примечание

Количество

1

KTV10720

BUCKET CYLINDER

1шт.

Include(s) 3 - 41

1шт.

1

KTV10720R

REMAN-HYD CYLINDER

Reman For New P/N KTV10720

1шт.

1

KTV10720C

CORE-HYD CYLINDER

Return Number

1шт.

3

LU002500

CYLINDER END CAP

1шт.

4

LB00669

BACK-UP RING

1шт.

5

LMU0072

RING

1шт.

7

LJ00992

JACK PISTON

1шт.

8

LE015240

SEALING RING

SEALRING

1шт.

9

LE01016

GUIDE RING

1шт.

10

LE00890

RING

1шт.

11

LE015180

SEALING RING

SEALRING

1шт.

12

LE00892

BACK-UP RING

1шт.

13

LE015190

WIPER SEAL

1шт.

14

154821A1

O-RING

1шт.

15

LE01012

BACK-UP RING

1шт.

16

862-27090

HEX SOC SCREW,M27 x 90mm, Cl 12.9

8шт.

17

LE01013

BACK-UP RING

1шт.

18

LE01014

SEALING RING

SEALRING

1шт.

19

LE00908

BACK-UP RING

1шт.

20

156228A1

SET SCREW

1шт.

21

155981A1

BALL

1шт.

22

LE01017

SHAFT SEAL

4шт.

23

LK00405

COUPLING FLANGE

1шт.

24

LR00949

HYD TUBE

1шт.

25

154543A1

O-RING

2шт.

26

863-12035

HEX SOC SCREW,M12 x 35mm, Cl 12.9

8шт.

27

LD001550

CLAMP BRACKET

Replaced by LD001920

2шт.

27

LD001920

CLAMP BRACKET

2шт.

28

LZU0074

CLAMP BRACKET

2шт.

29

158131A1

BOLT,High Strength, M10 x 1.5 x 35mm, Cl 10.9

4шт.

30

156227A1

WASHER

4шт.

31

155716A1

COLLAR

2шт.

32

LA00683

BOLT,Hex

2шт.

33

892-10012

LOCK WASHER,M12

2шт.

34

153630A1

LUBE NIPPLE

1шт.

35

LZ008380

SEAL KIT

1шт.

Include(s) 8 - 15, 18

1шт.

36

LR00947

HYD CYL SLEEVE

1шт.

Include(s) 37, 38

1шт.

37

NSS

NOT SOLD SEPARAT

1шт.

38

KTV1175

SELF LUB RING

1шт.

39

LB01005

PISTON ROD

1шт.

Include(s) 40, 41

1шт.

40

NSS

NOT SOLD SEPARAT

1шт.

41

KTV1175

SELF LUB RING

1шт.

Выбрано товаров: 46