Запчасти Case CX470C (09-014-00[01]) - OPERATORS COMPARTMENT - OPTION CONTROL - PICK HAMMER (05.1) - UPPERSTRUCTURE CHASSIS/ATTACHMENTS

Схема запчастей Case CX470C - (09-014-00[01]) - OPERATORS COMPARTMENT - OPTION CONTROL - PICK HAMMER (05.1) - UPPERSTRUCTURE CHASSIS/ATTACHMENTS
2
14
1
9
15
7
13
11
10
4
16
8
12
2
6
3
6
5
FIT
1:1
100%

Артикул

Название

Примечание

Количество

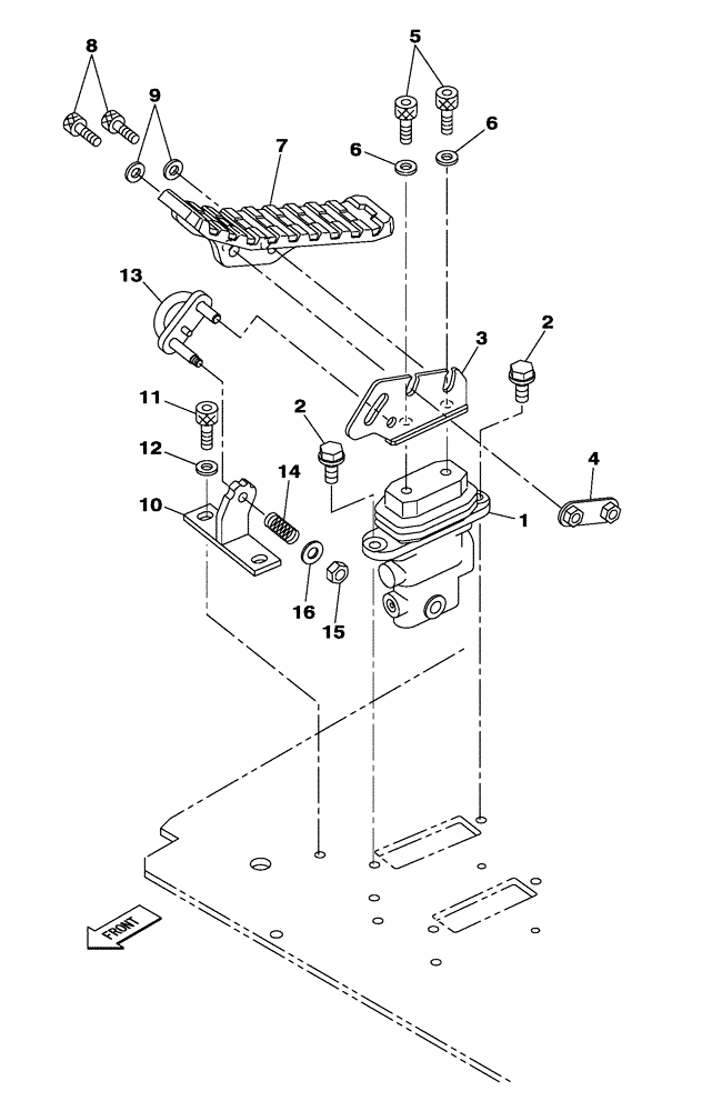
1

KHJ24720

CONTROL BLOCK

1шт.

See Figure(s) 08-271-00 01

1шт.

2

166052A1

BOLT

M10 x 25

2шт.

3

KHJ24740

SUPPORT

1шт.

4

KHJ24780

BRACKET, SUPPORTING

1шт.

5

165404A1

BOLT,Hex Skt, M10 x 20mm

M10 x 20

2шт.

6

150604A1

WASHER

2шт.

7

KHJ13850

PEDAL

1шт.

8

KHJ24800

BOLT

M10 x 30

2шт.

9

150604A1

WASHER

2шт.

10

KHJ10711

SUPPORT

1шт.

11

108R010Y016R

BOLT

M10 x 16

2шт.

12

150604A1

WASHER

2шт.

13

KHJ10701

ARRESTER

1шт.

14

KHJ10721

SPRING

1шт.

15

157740A1

NUT

1шт.

16

159500A1

WASHER

1шт.

Выбрано товаров: 17