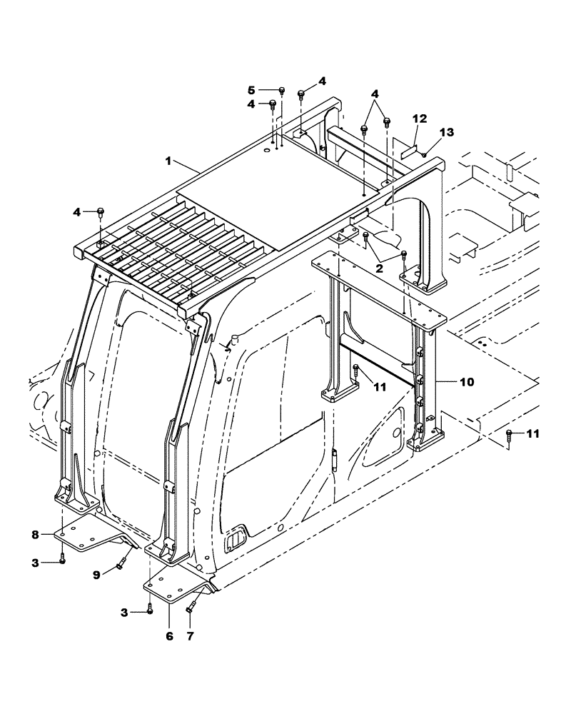
Запчасти Case CX470C (09-045-00[01]) - CAB GUARD - HEAD (05.1) - UPPERSTRUCTURE CHASSIS/ATTACHMENTS

Схема запчастей Case CX470C - (09-045-00[01]) - CAB GUARD - HEAD (05.1) - UPPERSTRUCTURE CHASSIS/ATTACHMENTS
1
2
12
11
3
7
6
4
4
3
4
10
8
11
5
4
13
9
FIT
1:1
100%

Артикул

Название

Примечание

Количество

1

KTN14200

GUARD

1шт.

2

166348A1

BOLT

12шт.

3

165930A1

BOLT,Sems, M16 x 55mm

8шт.

4

166352A1

BOLT

6шт.

5

166351A1

BOLT,Sems, M10 x 20mm

2шт.

6

KTN14370

BRACKET

1шт.

7

167067A1

SCREW,High Strength, M18 x 60mm

6шт.

8

KTN14380

BRACKET

1шт.

9

167067A1

SCREW,High Strength, M18 x 60mm

6шт.

10

KTN14210

BRACKET

1шт.

11

166349A1

BOLT,Sems, M16 x 65mm

8шт.

12

NSS

NOT SOLD SEPARAT

1шт.

13

168438A1

DRIVE SCREW

4шт.

Выбрано товаров: 13