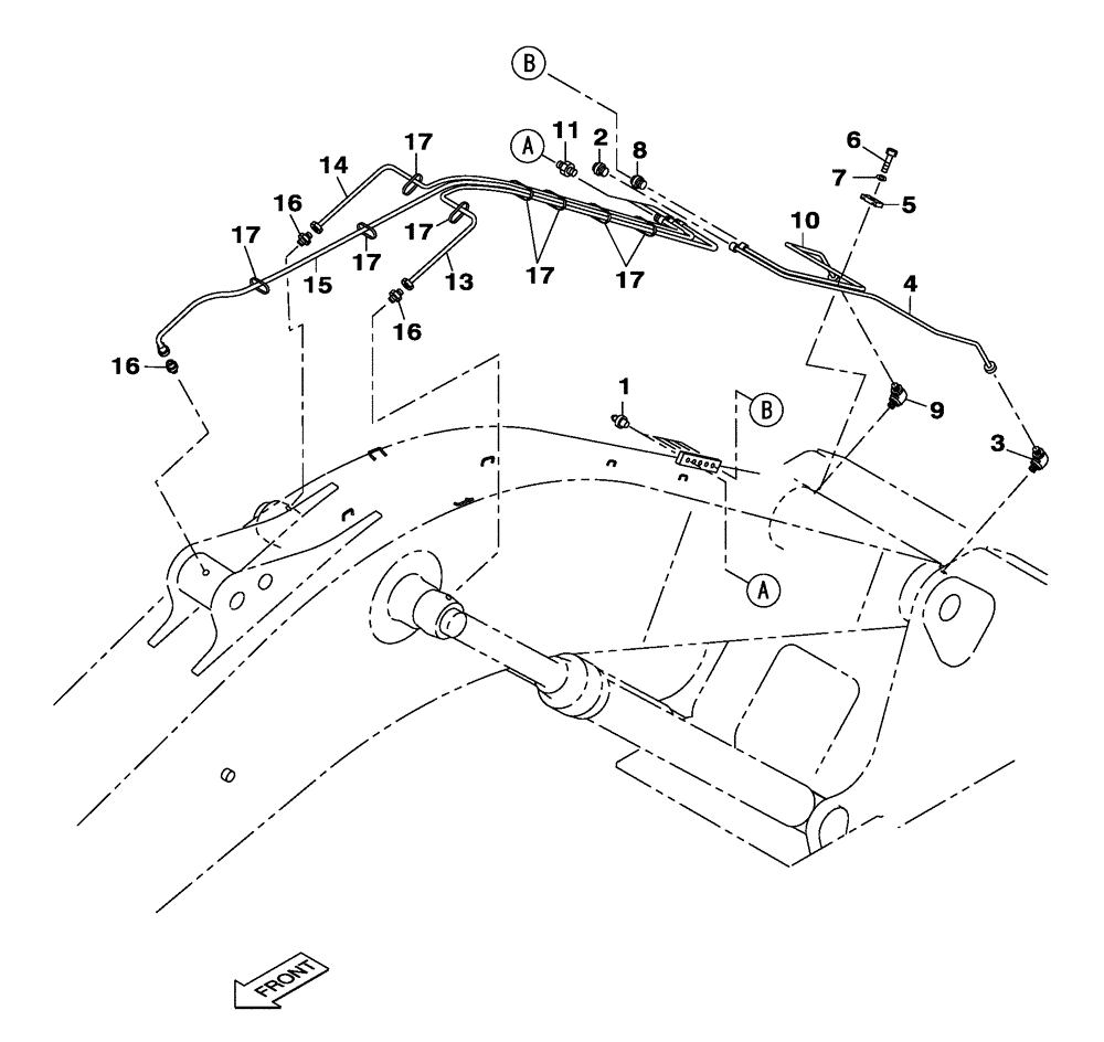
Запчасти Case CX470C (09-101-01[01]) - LUBRICATION CIRCUIT - MONOBLOCK BOOM - 6.55M (05.1) - UPPERSTRUCTURE CHASSIS/ATTACHMENTS

Схема запчастей Case CX470C - (09-101-01[01]) - LUBRICATION CIRCUIT - MONOBLOCK BOOM - 6.55M (05.1) - UPPERSTRUCTURE CHASSIS/ATTACHMENTS
2
11
17
3
17
10
9
15
7
17
13
16
17
5
8
6
4
17
1
14
16
17
16
FIT
1:1
100%

Артикул

Название

Примечание

Количество

1

153630A1

LUBE NIPPLE

5шт.

2

152599A1

MULTIPOLE CONNECTOR

1шт.

3

152627A1

ELBOW

1шт.

4

KTV14750

HYD TUBE

1шт.

5

153774A1

CLAMP

1шт.

6

627-8030

BOLT,Hex, M8 x 1.25 x 30mm, Cl 10.9, Full Thd

1шт.

7

153081A1

WASHER

1шт.

8

152599A1

MULTIPOLE CONNECTOR

1шт.

9

152627A1

ELBOW

1шт.

10

KTV14760

HYD TUBE

1шт.

11

KRJ4050

ADAPTER

3шт.

13

KHJ11010

HYDRAULIC HOSE

3300 mm

1шт.

14

KHJ2082

HOSE

3500 mm

1шт.

15

KHJ11010

HYDRAULIC HOSE

3750 mm

1шт.

16

153603A1

ADAPTER

3шт.

17

150067A1

MOUNTING CLIP

150 mm

8шт.

Выбрано товаров: 16