Запчасти Case CX470C (02-013-01[01]) - OIL PAN (01) - ENGINE

Схема запчастей Case CX470C - (02-013-01[01]) - OIL PAN (01) - ENGINE
271
8
118
1
10a
12
44
24
109
23
24
110
22
10b
112
6a
0-12
0-12
5b
44
5a
204
175
16
0-25
6b
2
9
175
111
10b
9
22
119
0-25
FIT
1:1
100%

Артикул

Название

Примечание

Количество

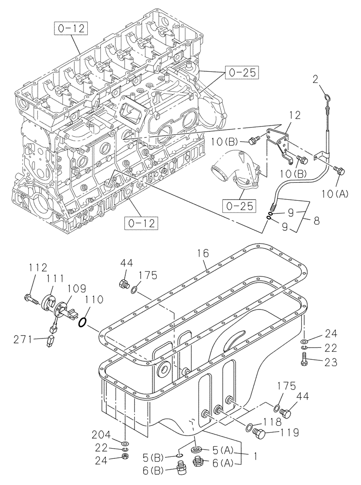
0-12

84477120

BLOCK,6 Cylinders, W/O Turbocharger

1шт.

See Figure(s) 02-012-01 01

1шт.

0-25

84477689

DUCT

1шт.

See Figure(s) 02-025-01 01

1шт.

1

84477266

SUMP

1шт.

Include(s) 5A, 5B

1шт.

2

84476989

GAUGE

1шт.

5a

87378135

GASKET

1шт.

5b

87393862

OIL PAN GASKET SET

1шт.

6a

87378136

PLUG

1шт.

6b

87393863

PLUG

1шт.

8

84477340

TUBE

1шт.

Include(s) 9

1шт.

9

289418A1

GASKET

2шт.

10a

84476946

BOLT

1шт.

10b

87596428

BOLT

4шт.

12

84477332

BRACKET

1шт.

16

86987194

GASKET

1шт.

22

84477158

WASHER

6шт.

23

84477071

BOLT

30шт.

24

84477084

NUT

6шт.

44

84387716

PLUG

3шт.

109

71456301

SWITCH

1шт.

110

437876A1

GASKET

1шт.

111

71455115

SPACER

1шт.

112

84477067

BOLT

3шт.

118

87384405

GASKET

1шт.

119

NSS

NOT SOLD SEPARAT

1шт.

175

355158A1

GASKET

3шт.

204

84477171

WASHER,8.4mm ID x 16mm OD

6шт.

271

426517A1

DRAIN PLUG

1шт.

Выбрано товаров: 0