Запчасти Case CX470C (06-002-00[01]) - SWING MOTOR-DRIVE REDUCTION GEAR (03) - TRANSMISSION

Схема запчастей Case CX470C - (06-002-00[01]) - SWING MOTOR-DRIVE REDUCTION GEAR (03) - TRANSMISSION
FIT
1:1
100%

Артикул

Название

Примечание

Количество

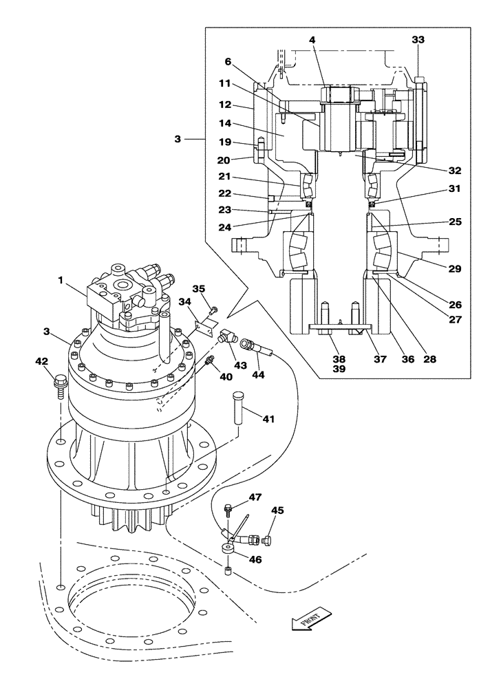
1

KTC0171

MOTOR, HYDRAULIC

1шт.

See Figure(s) 08-220-00 01

1шт.

1

KTC0171R

REMAN-HYD MOTOR

CX470C CRAWLER EXCAVATOR, TIER 4 (NA) (9/11-)

1шт.

1

KTC0171C

CORE-MOTOR HYDRAULIC

Return Number

1шт.

3

KTC10150

GEAR REDUCTION UNIT

1шт.

Include(s) 4 - 35

1шт.

3

KTC10240R

REMAN-REDUCTION UNIT

CX470C CRAWLER EXCAVATOR - TIER 4 (NA) (9/11-), Reman for New PN KTC10150

1шт.

3

KTC10240C

CORE-REDUCTION UNIT

Return Number

1шт.

4

KTC10070

SUN GEAR

(NO 1)

1шт.

5

KTC10090

SHAFT, PLANETARY CAR

CARRIER, PLANETARY, NO 1, Incl 6 - 10

1шт.

6

NSS

NOT SOLD SEPARAT

CARRIER, PINION, PLANETARY NO 1

1шт.

7

NSS

NOT SOLD SEPARAT

GEAR, NO 1

3шт.

8

NSS

NOT SOLD SEPARAT

PIN, PLANETARY NO 1

3шт.

9

KTC0156

PLATE

WASHER, GEAR PLANETARY

3шт.

10

NSS

NOT SOLD SEPARAT

WASHER, THRUST

1шт.

11

KTC10080

SUN GEAR

(NO 2)

1шт.

12

KTC0166

RING GEAR

1шт.

14

KTC10210

PINION CARRIER

CARRIER, PLANETARY, NO 2, Incl 15 - 19

1шт.

15

NSS

NOT SOLD SEPARAT

CARRIER, PINION, PLANETARY NO 2

4шт.

16

NSS

NOT SOLD SEPARAT

GEAR, NO 2

4шт.

17

NSS

NOT SOLD SEPARAT

PIN, PLANETARY NO 2

4шт.

18

338W100Z040B

COTTER PIN

4шт.

19

KTC0155

PIN

4шт.

20

KTC0170

HOUSING

1шт.

21

KTC0150

BEARING,130mm ID x 210mm OD x 64mm W

1шт.

22

150824A1

PLUG

1шт.

23

158352A1

PLUG

2шт.

24

KTC0158

RETAINING WIRE

1шт.

25

KTC0151

SPACER

1шт.

26

KTC0159

RETAINING WIRE

1шт.

27

KTC0152

BEARING COVER

1шт.

28

KTC0154

SPACER

1шт.

29

KTC0190

BEARING,140mm ID x 300mm OD x 102mm W

1шт.

30

KHP1406

Grease

1шт.

31

KTC0153

OIL SEAL

1шт.

32

KTC0184

SHAFT ASSY.

1шт.

33

150237A1

BOLT,Hex Skt

18шт.

34

NSS

NOT SOLD SEPARAT

Name plate

1шт.

35

301-1413

DRIVE SCREW,Drive, #2 x 3/16"

2шт.

36

KTC0149

GEAR

1шт.

37

195A160RN

WASHER

1шт.

38

167071A1

RETAINER

1шт.

39

627-20050

BOLT,Hex, M20 x 2.5 x 50mm, Cl 10.9, Full Thd

2шт.

40

153630A1

LUBE NIPPLE

1шт.

41

150317A1

HEADED PIN,24mm OD x 90mm L

1шт.

42

166477A1

BOLT,Sems, M24 x 90mm

12шт.

43

150915A1

ADAPTER

1шт.

44

KRJ5902

HYDRAULIC HOSE,12.70 mm ID x 360.00 mm

1шт.

45

KHP0578

PLUG

1шт.

46

KHR2584

CLAMP

1шт.

47

KHJ1215

BOLT,Spcl

1шт.

Выбрано товаров: 51