Качественные детали и логистика
Оригинальные и аналоговые запчасти с доставкой по России, Казахстану и Беларуси
©2022 PartSell ООО "Система" ИНН 2463123282 ОГРН 1212400004838
Центральный офис: г. Красноярск, Академика Киренского, д.87, пом.4
Телефон: 8 (800) 777-65-74 Email: zakaz@partsell.ru
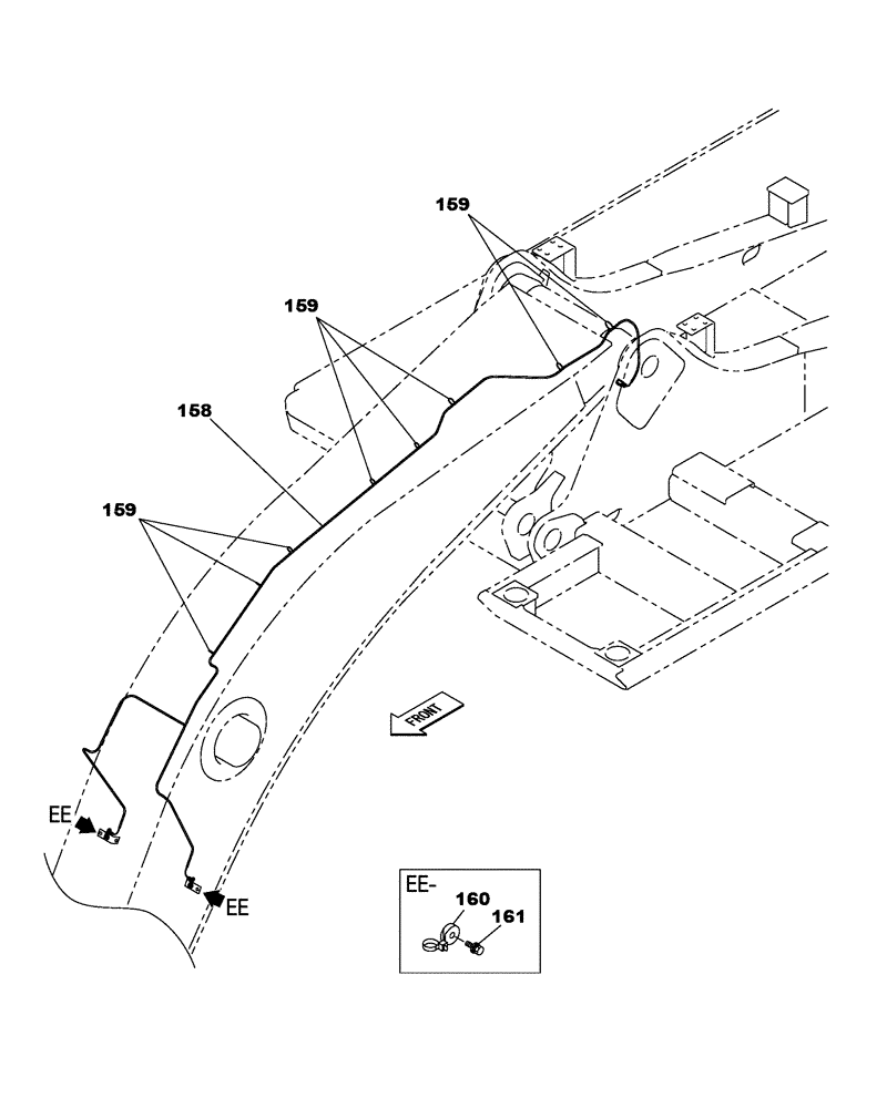
(04-001-03[01]) - CHASSIS ELECTRICAL CIRCUIT - FRAME
№
Артикул
Название
Примечание
Количество
158
KHR16680
WIRE HARNESS
1шт.
159
150496A1
MOUNTING CLIP
8шт.
160
KHR2583
CLAMP
2шт.
161
159906A1
BOLT,Sems, Hex, M6 x 20mm, Spcl
Выбрано товаров: 0