Запчасти Case CX75C SR (84.912.AA[05]) - VAR - 481265 - DIPPER (L= 219 MM) (84) - BOOMS, DIPPERS & BUCKETS

Схема запчастей Case CX75C SR - (84.912.AA[05]) - VAR - 481265 - DIPPER (L= 219 MM) (84) - BOOMS, DIPPERS & BUCKETS
6
5
8
8
5
2
6
4
1
3
10
3
3
4
3
9
7
7
FIT
1:1
100%

Артикул

Название

Примечание

Количество

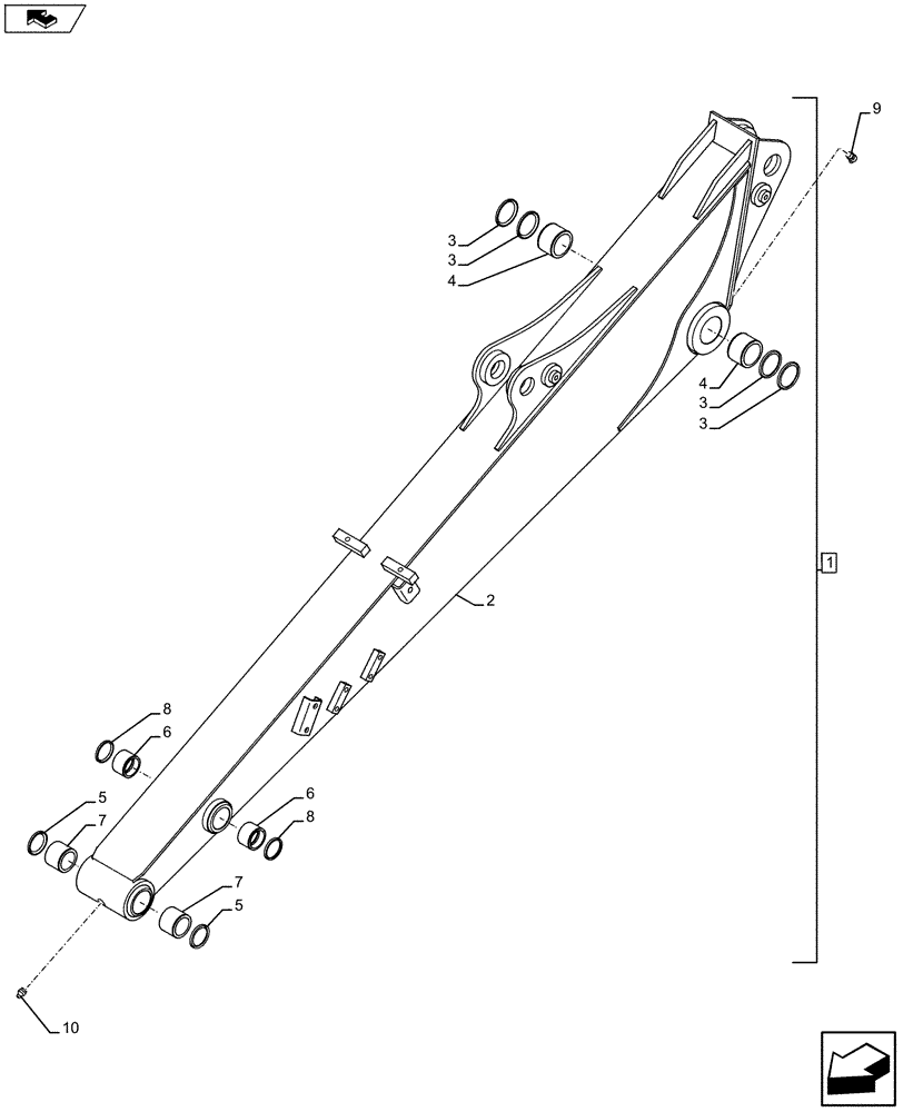
1

KAV19770

DIPPER

Assy, Incl 2 - 8

1шт.

2

NSS

NOT SOLD SEPARAT

Dipper, Incl in 1

1шт.

3

162999A1

SEAL

4шт.

4

KAV2044

BUSHING

2шт.

5

166466A1

SEAL

2шт.

6

166389A1

BUSHING,50mm ID x 60mm OD x 40mm L

2шт.

7

166435A1

BUSHING,50mm ID x 65mm OD x 50mm L

2шт.

8

KHV0095

SEAL

2шт.

9

153631A1

LUBE NIPPLE,1/8"-27 NPT

1шт.

10

153630A1

LUBE NIPPLE

1шт.

Выбрано товаров: 10