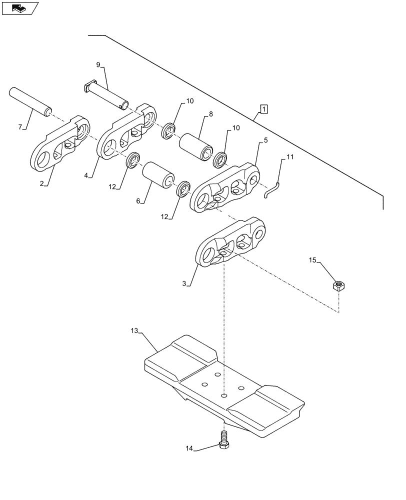
Запчасти Case CX80C (48.100.AD[03]) - VAR - 9560018 - TRACK CHAIN (L=450MM) (48) - TRACKS & TRACK SUSPENSION

Схема запчастей Case CX80C - (48.100.AD[03]) - VAR - 9560018 - TRACK CHAIN (L=450MM) (48) - TRACKS & TRACK SUSPENSION
15
12
9
11
13
10
1
12
14
3
5
4
8
2
10
6
7
FIT
1:1
100%

Артикул

Название

Примечание

Количество

1

KAA10230

CHAIN (CE)

Assy, Incl 2 - 12

1шт.

2

KAA1195

LINK CHAIN

1шт.

3

KAA1196

LINK CHAIN

1шт.

4

KAA1197

LINK CHAIN

1шт.

5

KAA1198

LINK CHAIN

1шт.

6

KAA1199

BUSHING

1шт.

7

KAA1200

PIN

1шт.

8

KAA1201

BUSHING

1шт.

9

KAA10240

PIN

1шт.

10

KAA1203

BUSHING

2шт.

11

166247A1

LINCH PIN

1шт.

12

KAA1205

SEAL

2шт.

13

KAA1179

TRACK SHOE

1шт.

14

KAA1176

BOLT

4шт.

15

KAA1177

NUT

1шт.

Выбрано товаров: 15