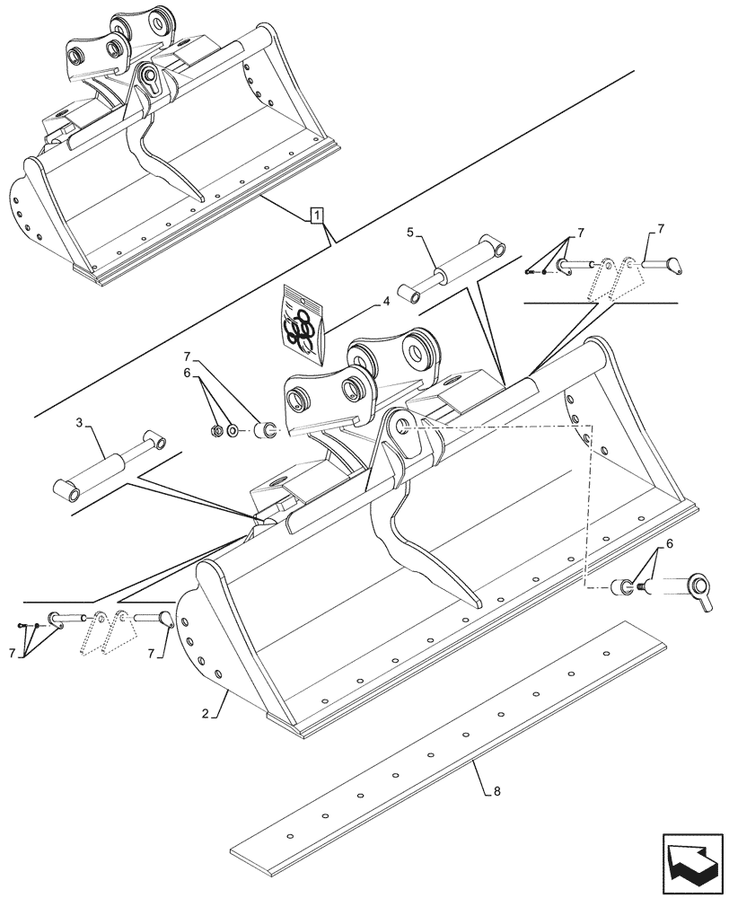
Запчасти Case CX80C (84.100.017) - 90° TILT DITCH CLEANING (L=1400MM), EU MODELS (84) - BOOMS, DIPPERS & BUCKETS

Схема запчастей Case CX80C - (84.100.017) - 90° TILT DITCH CLEANING (L=1400MM), EU MODELS (84) - BOOMS, DIPPERS & BUCKETS
6
7
5
7
6
7
4
8
3
2
7
1
7
FIT
1:1
100%

Артикул

Название

Примечание

Количество

1

47847935

BUCKET

90° Tilt Ditch Cleaning, 1400mm, ASSY, Incl 2 - 8

1шт.

With Bolt On Cutting Edge for direct Fit

1шт.

2

NSS

NOT SOLD SEPARAT

90° Tilth Ditch, Incl in 1

1шт.

3

47875882

KIT

Cylinder Valve

1шт.

4

47875884

KIT

Cylinder Seal

1шт.

5

47875901

KIT

Cylinder

1шт.

6

47875887

KIT

Bushing - Pin

1шт.

7

47875885

KIT

Bushing - Pin

1шт.

8

47848325

CUTTING EDGE

Bolt-on, 1400mm

1шт.

Выбрано товаров: 9