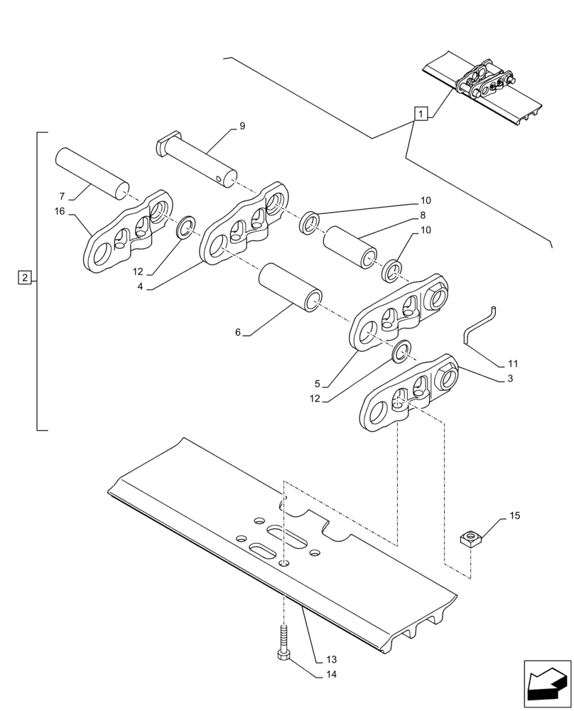
Запчасти Case CX130D (48.100.AD[06]) - VAR - 956000 - TRACK CHAIN (L=700MM), COMPONENTS (48) - TRACKS & TRACK SUSPENSION

Схема запчастей Case CX130D - (48.100.AD[06]) - VAR - 956000 - TRACK CHAIN (L=700MM), COMPONENTS (48) - TRACKS & TRACK SUSPENSION
10
9
2
3
13
1
12
10
16
15
6
8
7
4
14
12
11
5
FIT
1:1
100%

Артикул

Название

Примечание

Количество

1

KNA10630

TRACK ASSY

ASSY, 700mm, Incl 2 - 16

2шт.

2

KNA10690

CHAIN (CE)

ASSY, Incl 3 - 12, 16

1шт.

3

168861A1

LINK CHAIN

42шт.

4

168862A1

LINK CHAIN

1шт.

5

168863A1

LINK CHAIN

1шт.

6

KNA10700

BUSHING

42шт.

7

KNA10870

PIN

42шт.

8

168646A1

BUSHING

1шт.

9

168866A1

PIN

1шт.

10

168867A1

COLLAR

2шт.

11

168650A1

COTTER PIN

1шт.

12

KNA10710

SEAL

84шт.

13

158013A1

TRACK SHOE

700mm

43шт.

14

161062A1

BOLT,Spher Hex, M16 x 1.5 x 46mm

172шт.

15

161063A1

NUT

172шт.

16

168860A1

LINK CHAIN

42шт.

Выбрано товаров: 16