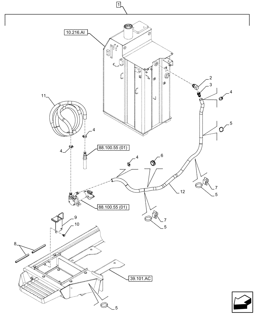
Запчасти Case CX130D (88.100.55[02]) - DIA KIT, FUEL TRANSFER PUMP, SUPPLY LINES (88) - ACCESSORIES

Схема запчастей Case CX130D - (88.100.55[02]) - DIA KIT, FUEL TRANSFER PUMP, SUPPLY LINES (88) - ACCESSORIES
88.100.55 (01)
11
7
5
4
3
4
39.101.ac
8
2
6
88.100.55 (01)
4
5
5
7
12
4
5
10.216.ai
9
10
1
FIT
1:1
100%

Артикул

Название

Примечание

Количество

1

KG0NR324-00

CONSTRUCTION DIA

Fuel Feed Pump, Incl 2 - 12

1шт.

To See Full DIA KIT Composition Look for all the Figures Where the DIA KIT P/N Is Shown

1шт.

2

KHJ2320

ELBOW

1шт.

3

KHR11480

LUBE NIPPLE

1шт.

4

157917A1

COLLAR

4шт.

5

150496A1

MOUNTING CLIP

250mm

7шт.

6

167261A1

GROMMET

1шт.

7

KHR10220

MOUNTING CLIP

2шт.

8

KBN15710

SEAL PROTECTION

2шт.

9

KHR43530

BRACKET

1шт.

10

166052A1

BOLT

2шт.

11

KHR11460

FUEL HOSE

25mm ID x 4000mm

1шт.

12

KHR34100

HOSE

1шт.

Выбрано товаров: 13