Запчасти Case CX130D LC (55.302.AG) - BATTERY (55) - ELECTRICAL SYSTEMS

Схема запчастей Case CX130D LC - (55.302.AG) - BATTERY (55) - ELECTRICAL SYSTEMS
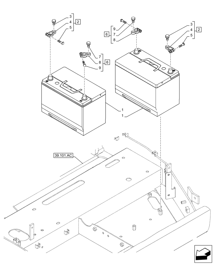
39.101.ac
5
7
6
9
4
1
8
2
6
3
8
9
3
1
7
5
2
4
FIT
1:1
100%

Артикул

Название

Примечание

Количество

1

KHR3950

BATTERY, WET

2шт.

2

158403A1

TERMINAL CONNECTOR

ASSY, Terminal +, Incl 3 - 5

2шт.

3

NSS

NOT SOLD SEPARAT

Bolt, Incl in 2

2шт.

4

NSS

NOT SOLD SEPARAT

Terminal +, Incl in 2

2шт.

5

NSS

NOT SOLD SEPARAT

Bolt, Incl in 2

2шт.

6

150455A1

TERMINAL CONNECTOR

ASSY, Terminal -, Incl 7 - 9

2шт.

7

NSS

NOT SOLD SEPARAT

Bolt, Incl in 6

2шт.

8

NSS

NOT SOLD SEPARAT

Terminal -, Incl in 6

2шт.

9

NSS

NOT SOLD SEPARAT

Bolt, Incl in 6

2шт.

Выбрано товаров: 9