Запчасти Case CX130D LC (55.514.AB[03]) - VAR - 461024, 461142, 781986 - WORKING LIGHT, CAB, W/ FRONT, GUARD (55) - ELECTRICAL SYSTEMS

Схема запчастей Case CX130D LC - (55.514.AB[03]) - VAR - 461024, 461142, 781986 - WORKING LIGHT, CAB, W/ FRONT, GUARD (55) - ELECTRICAL SYSTEMS
5
8
7
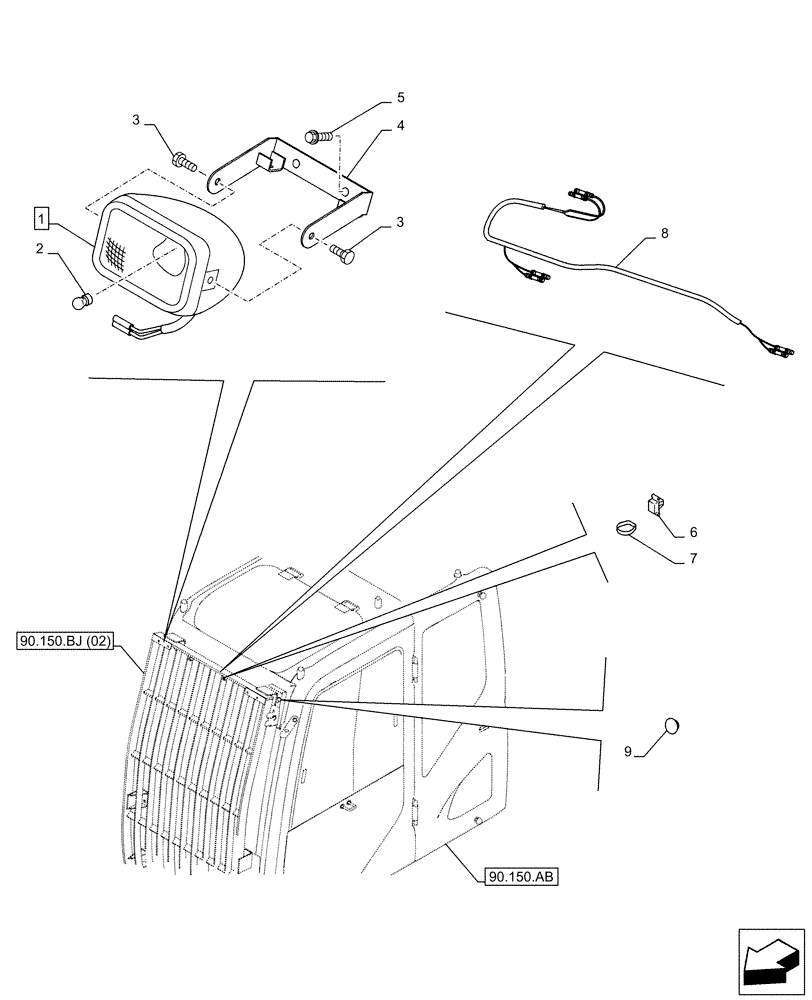
1
9
90.150.bj (02)
6
3
4
2
90.150.ab
3
FIT
1:1
100%

Артикул

Название

Примечание

Количество

1

KHR16240

WORK LAMP,Halogen, 24V, 70W, Clear

ASSY, Incl 2 (Qty 1), 3 (Qty 2)

2шт.

2

152812A1

BULB

2шт.

3

KHR3556

BOLT,Spcl

M6 x 16mm

4шт.

4

KHR30120

BRACKET

Light

2шт.

5

166350A1

BOLT

M8 x 20mm

4шт.

6

KHR10220

MOUNTING CLIP

6шт.

7

150496A1

MOUNTING CLIP

6шт.

8

KHR30190

WIRE HARNESS

Cab Light

1шт.

9

KHN14300

GROMMET

1шт.

Выбрано товаров: 9