Запчасти Case CX130D LC (71.460.AF[01]) - VAR - 781178 - ARM, LUBRICATION LINE (L=3M) (71) - LUBRICATION SYSTEM

Схема запчастей Case CX130D LC - (71.460.AF[01]) - VAR - 781178 - ARM, LUBRICATION LINE (L=3M) (71) - LUBRICATION SYSTEM
9
6
8
3
6
1
7
2
4
5
84.912.aa (03)
84.912.aa (03)
7
8
FIT
1:1
100%

Артикул

Название

Примечание

Количество

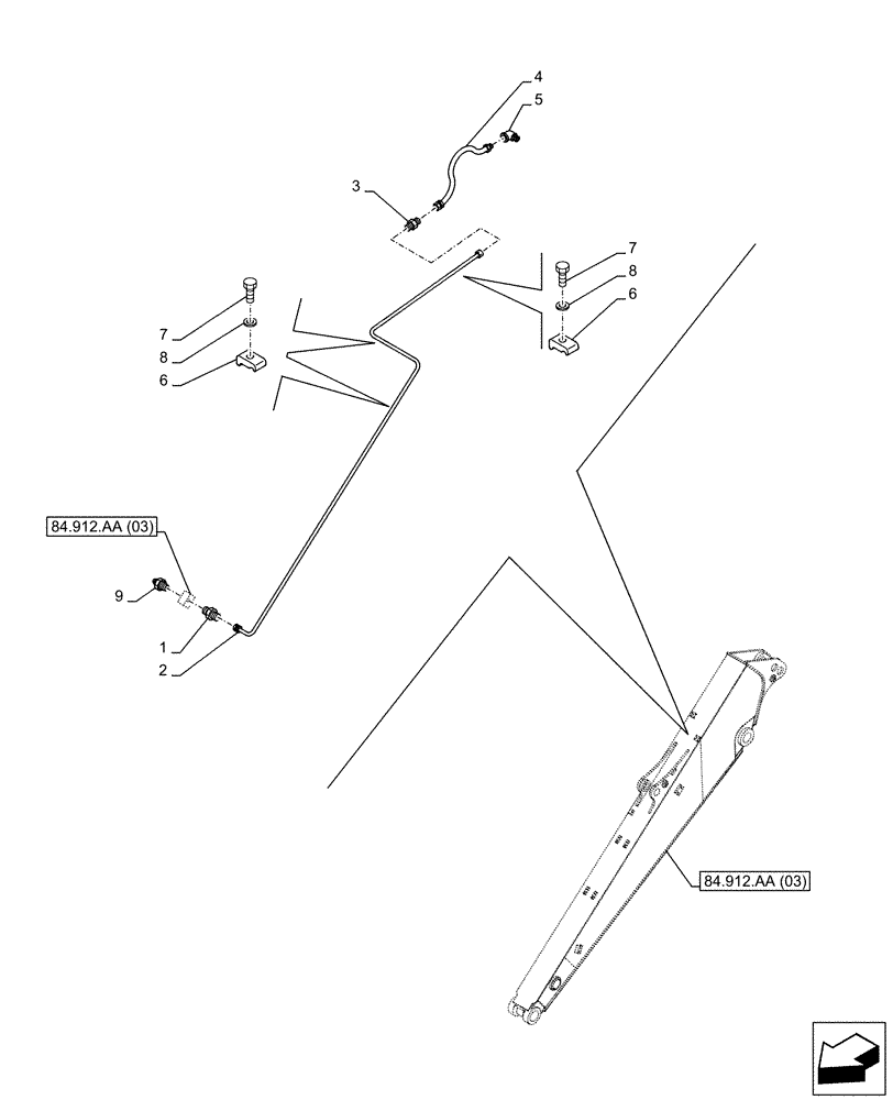
1

152599A1

MULTIPOLE CONNECTOR

1шт.

2

KNV17350Y2

HYD TUBE

1шт.

3

152032A1

UNION

1шт.

4

153698A1

HOSE

1шт.

5

163319A1

ELBOW

1шт.

6

151504A1

CLAMP

3шт.

7

627-8030

BOLT,Hex, M8 x 1.25 x 30mm, Cl 10.9, Full Thd

3шт.

8

153081A1

WASHER

3шт.

9

153630A1

LUBE NIPPLE

1шт.

Выбрано товаров: 9