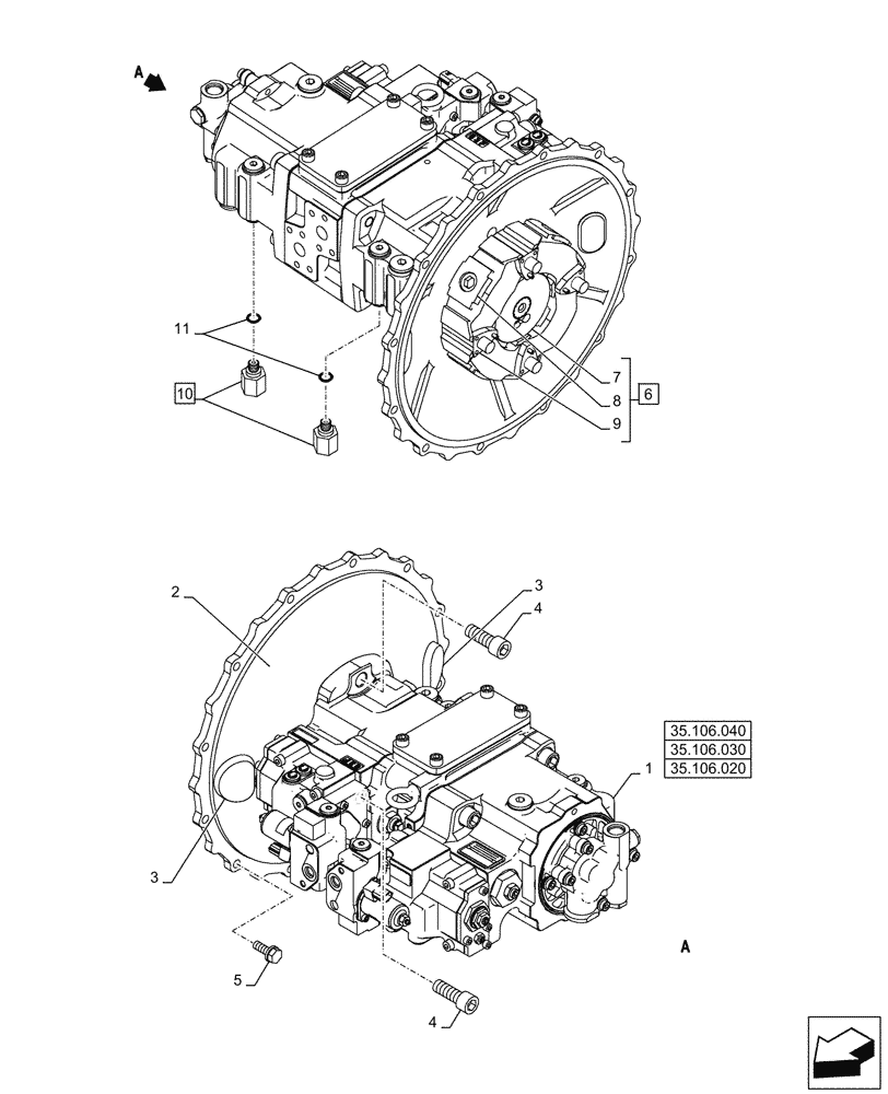
Запчасти Case CX145D SR LC (35.106.010) - VARIABLE DELIVERY HYDRAULIC PUMP (35) - HYDRAULIC SYSTEMS

Схема запчастей Case CX145D SR LC - (35.106.010) - VARIABLE DELIVERY HYDRAULIC PUMP (35) - HYDRAULIC SYSTEMS
35.106.030
7
10
4
4
2
6
11
1
5
3
8
9
3
35.106.040
35.106.020
FIT
1:1
100%

Артикул

Название

Примечание

Количество

1

KNJ21970

HYDRAULIC PUMP

ASSY

1шт.

2

KNJ11750

FLANGE

1шт.

3

KHJ2656

GROMMET

2шт.

4

108R016Y045R

BOLT

M16 x 45mm

2шт.

5

166347A1

BOLT,Sems, M10 x 30mm

12шт.

6

KNJ19710

FLEXIBLE COUPLING

ASSY, Incl 7 - 9

1шт.

7

KMJ2661

ELEMENT

1шт.

8

KNJ21000

INSERT

4шт.

9

KNJ21010

INSERT

1шт.

10

KHJ18180

STUD

ASSY, G1/4" x M18, Incl 11

2шт.

11

150960A1

O-RING,10.8mm ID x 2.4mm Width

2шт.

Выбрано товаров: 0