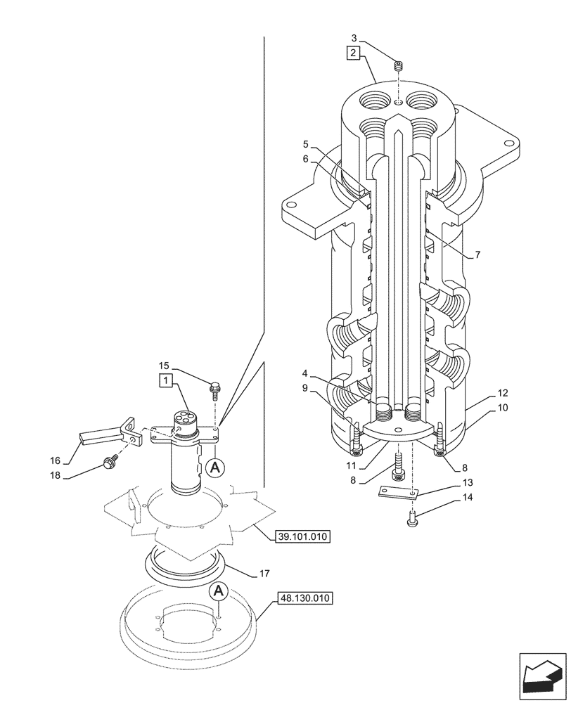
Запчасти Case CX145D SR LC (35.354.030) - HYDRAULIC SWIVEL, HYDRAULIC SWIVEL (35) - HYDRAULIC SYSTEMS

Схема запчастей Case CX145D SR LC - (35.354.030) - HYDRAULIC SWIVEL, HYDRAULIC SWIVEL (35) - HYDRAULIC SYSTEMS
48.130.010
16
8
3
7
17
2
10
15
11
9
13
8
18
12
4
5
6
14
1
39.101.010
FIT
1:1
100%

Артикул

Название

Примечание

Количество

1

KRA11190

HYDRAULIC SWIVEL

ASSY, Incl 2 - 14

1шт.

2

KRA11200

HOUSING

ASSY, Incl 3 - 4

1шт.

3

150821A1

PLUG

1шт.

4

150829A1

PLUG

4шт.

5

151814A1

SEAL,72mm ID x 84mm OD x 11mm Thk

1шт.

6

KHA10130

O-RING

1шт.

7

168295A1

SEALING RING,80mm ID x 90mm OD x 4.8mm Thk

7шт.

8

862-8025

HEX SOC SCREW,M8 x 25mm, Cl 12.9

8шт.

9

154721A1

O-RING,99.4mm ID x 3.1mm Width

1шт.

10

KRA1874

COVER

1шт.

11

KRA10380

THRUST PLATE

1шт.

12

KRA1872

ROTOR

1шт.

13

152593A1

TYPE PLATE

1шт.

14

301-1413

DRIVE SCREW,Drive, #2 x 3/16"

2шт.

15

105R012Y045R

BOLT

M12 x 45mm

4шт.

16

KRA11210

LOCKING BAR

1шт.

17

KRA11090

SEALING RING

1шт.

18

166352A1

BOLT

M12 x 30mm

2шт.

Выбрано товаров: 0