Запчасти Case CX145D SR LC W/BLADE (35.360.300) - VAR - 461869 - 461868 - SOLENOID VALVE, HAMMER CIRCUIT, HIGH FLOW, SHEARS, W/ ELECTRICAL PROPORTIONAL CONTROL, COMPONENTS (35) - HYDRAULIC SYSTEMS

Схема запчастей Case CX145D SR LC W/BLADE - (35.360.300) - VAR - 461869 - 461868 - SOLENOID VALVE, HAMMER CIRCUIT, HIGH FLOW, SHEARS, W/ ELECTRICAL PROPORTIONAL CONTROL, COMPONENTS (35) - HYDRAULIC SYSTEMS
12
15
16
13
11
7
11
14
3
12
6
13
10
2
3
8
14
6
4
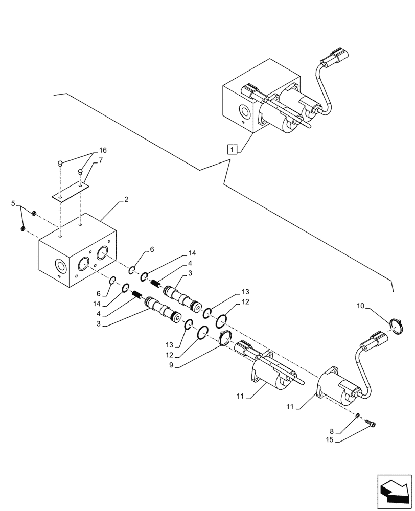
1
5
9
4
FIT
1:1
100%

Артикул

Название

Примечание

Количество

1

KHJ14000

VALVE SECTION

ASSY, Incl 2 - 16

1шт.

2

NSS

NOT SOLD SEPARAT

Body, Incl in 1

1шт.

3

NSS

NOT SOLD SEPARAT

Spool, Incl in 1

2шт.

4

LG006010

COMPRESSION SPRING

2шт.

5

LR015080

ADAPTER

2шт.

6

LA010960

SNAP RING

2шт.

7

NSS

NOT SOLD SEPARAT

Nameplate, Incl in 1

1шт.

8

LA010970

SPRING WASHER

4шт.

9

LD001470

COLLAR

1шт.

10

LD001450

COLLAR

1шт.

11

LL001140

SOLENOID

2шт.

12

155188A1

O-RING

2шт.

13

154487A1

O-RING

2шт.

14

154463A1

O-RING

2шт.

15

LA010980

BOLT,Hex Skt Hd

4шт.

16

NSS

NOT SOLD SEPARAT

Rivet, Incl in 1

1шт.

Выбрано товаров: 16