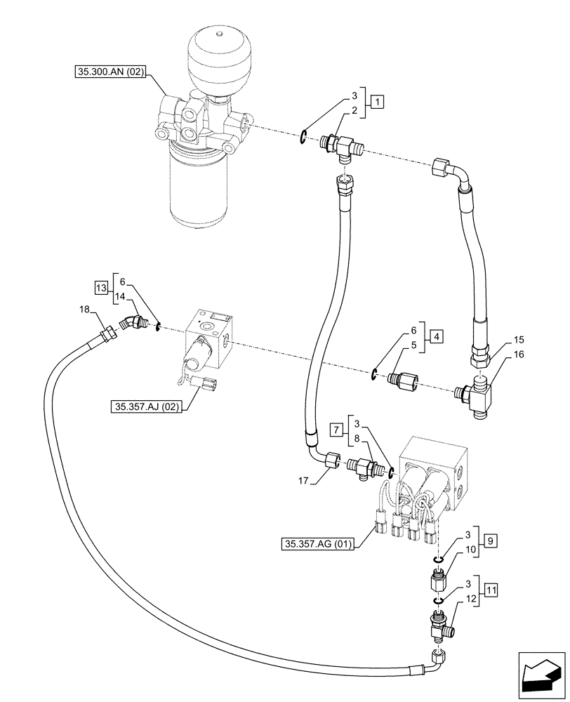
Запчасти Case CX160D LC (35.357.AR[01]) - PILOT VALVE, CONTROL VALVE LINE (35) - HYDRAULIC SYSTEMS

Схема запчастей Case CX160D LC - (35.357.AR[01]) - PILOT VALVE, CONTROL VALVE LINE (35) - HYDRAULIC SYSTEMS
2
3
3
35.357.ag (01)
10
13
17
35.357.aj (02)
18
7
16
6
15
9
11
6
35.300.an (02)
1
3
14
8
4
5
12
3
FIT
1:1
100%

Артикул

Название

Примечание

Количество

1

164107A1

TEE,3/8" ORB x 3/8" - 19 NPT x 3/8" - 19 NPT

ASSY, G3/8", Incl 2, 3 (Qty 1)

1шт.

2

NSS

NOT SOLD SEPARAT

T Fitting, Incl in 1

1шт.

3

150031A1

O-RING,10mm ID x 24mm OD

4шт.

4

KHJ25100

STUD

ASSY, Incl 5, 6 (Qty 1)

1шт.

5

NSS

NOT SOLD SEPARAT

Fitting, Incl in 4

1шт.

6

150960A1

O-RING,10.8mm ID x 2.4mm Width

2шт.

7

163422A1

TEE

ASSY, Incl 8, 3 (qty 1)

1шт.

8

NSS

NOT SOLD SEPARAT

T Fitting, Incl in 7

1шт.

9

KHJ13790

STUD

ASSY, Incl 10, 3 (qty 1)

1шт.

10

NSS

NOT SOLD SEPARAT

Fitting, Incl in 9

1шт.

11

KHJ13900

TEE

ASSY, Incl 12, 3 (qty 1)

1шт.

12

NSS

NOT SOLD SEPARAT

T Fitting, Incl in 11

1шт.

13

KHJ28630

ELBOW

ASSY, Incl 14, 6 (qty 1)

1шт.

14

NSS

NOT SOLD SEPARAT

45° Fitting, Incl in 13

1шт.

15

KHJ34450

HOSE

9mm ID x 290mm

1шт.

16

KMJ2291

TEE

1шт.

17

KHJ2169

HOSE

9mm ID x 450mm

1шт.

18

KHJ2342

HOSE

6mm ID x 380mm

1шт.

Выбрано товаров: 18