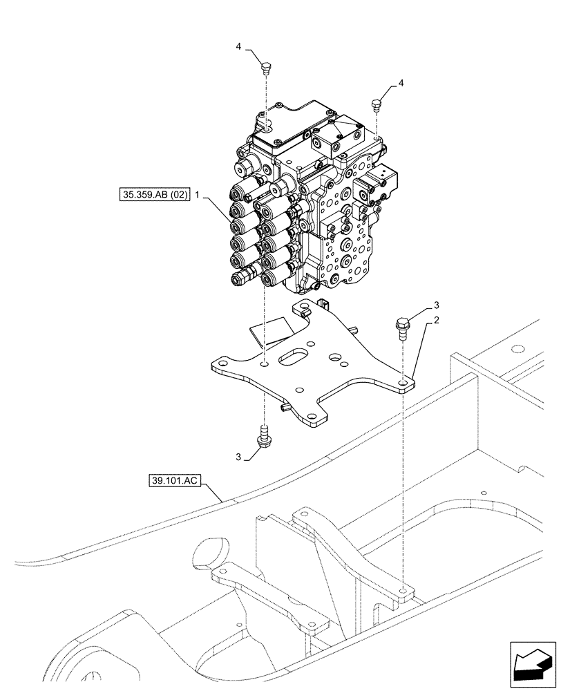
Запчасти Case CX160D LC (35.359.AB[01]) - CONTROL VALVE, MOUNTING, BRACKET (35) - HYDRAULIC SYSTEMS

Схема запчастей Case CX160D LC - (35.359.AB[01]) - CONTROL VALVE, MOUNTING, BRACKET (35) - HYDRAULIC SYSTEMS
3
39.101.ac
4
4
35.359.ab (02)
3
1
2
FIT
1:1
100%

Артикул

Название

Примечание

Количество

1

KLJ14220

CONTROL VALVE

ASSY

1шт.

See also Figure 35.359.AB(02), 35.359.AB(03), 35.359.AB(04), 35.359.AB(05), 35.359.AB(06), 35.359.AY(03)

1шт.

2

KLJ13160

BRACKET

1шт.

3

166373A1

BOLT,Sems, M16 x 40mm

8шт.

4

102R012Y016R

BOLT

M12 x 16mm

2шт.

Выбрано товаров: 0