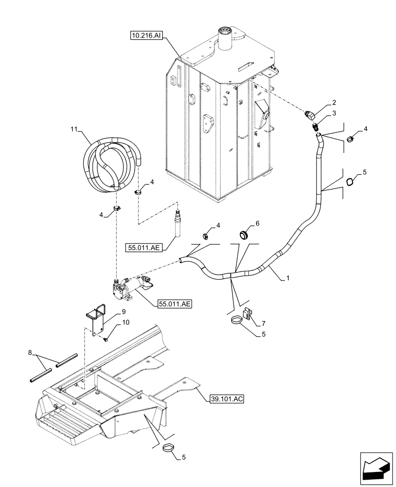
Запчасти Case CX160D LC (10.210.AF) - VAR - 481257 - FUEL TRANSFER PUMP, SUPPLY LINE (10) - ENGINE

Схема запчастей Case CX160D LC - (10.210.AF) - VAR - 481257 - FUEL TRANSFER PUMP, SUPPLY LINE (10) - ENGINE
10.216.ai
8
1
11
10
7
5
4
55.011.ae
9
2
3
4
4
5
55.011.ae
39.101.ac
6
4
5
FIT
1:1
100%

Артикул

Название

Примечание

Количество

1

KHR34100

HOSE

1шт.

2

KHJ2320

ELBOW

1шт.

3

KHR11480

LUBE NIPPLE

1шт.

4

157917A1

COLLAR

4шт.

5

150496A1

MOUNTING CLIP

250mm

6шт.

6

KHR45540

GROMMET

1шт.

7

KHR10220

MOUNTING CLIP

1шт.

8

KHR45270

SEAL PROTECTION

2шт.

9

KHR43531

BRACKET

1шт.

10

166052A1

BOLT

2шт.

11

KHR11460

FUEL HOSE

25mm ID x 4000mm

1шт.

Выбрано товаров: 0