Запчасти Case CX160D LC (88.100.35[165]) - DIA KIT, HAMMER CIRCUIT, HIGH FLOW, SHEARS, W/ ELECTRICAL PROPORTIONAL CONTROL, SOLENOID VALVE, COMPONENTS (88) - ACCESSORIES

Схема запчастей Case CX160D LC - (88.100.35[165]) - DIA KIT, HAMMER CIRCUIT, HIGH FLOW, SHEARS, W/ ELECTRICAL PROPORTIONAL CONTROL, SOLENOID VALVE, COMPONENTS (88) - ACCESSORIES
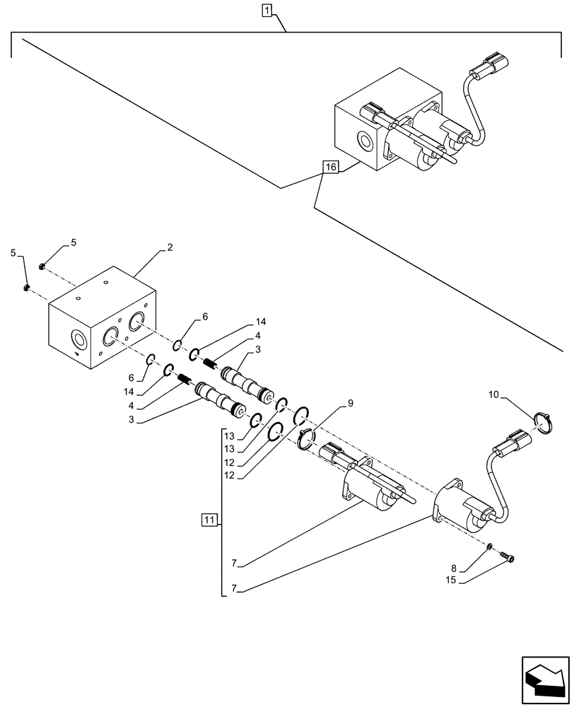
9
12
4
16
7
10
14
12
15
4
13
6
2
14
3
1
13
3
7
6
11
5
5
8
FIT
1:1
100%

Артикул

Название

Примечание

Количество

1

KG0LP422-00

CONSTRUCTION DIA

Multi-Purpose with 3 Way Valve Proportional, Incl 2 - 16

1шт.

To See Full DIA KIT Composition Look for all the Figures Where the DIA KIT P/N Is Shown

1шт.

2

NSS

NOT SOLD SEPARAT

Body, Incl in 16

1шт.

3

NSS

NOT SOLD SEPARAT

Spool, Incl in 16

2шт.

4

LG006010

COMPRESSION SPRING

2шт.

5

LR015080

ADAPTER

2шт.

6

LA010960

SNAP RING

2шт.

7

NSS

NOT SOLD SEPARAT

Solenoid, Incl in 11

2шт.

8

LA010970

SPRING WASHER

4шт.

9

LD001470

COLLAR

1шт.

10

LD001450

COLLAR

1шт.

11

LL001140

SOLENOID

ASSY, Incl 7, 12, 13

2шт.

12

155188A1

O-RING

2шт.

13

154487A1

O-RING

2шт.

14

154463A1

O-RING

2шт.

15

LA010980

BOLT,Hex Skt Hd

4шт.

16

KHJ14000

VALVE SECTION

ASSY, Incl 2 - 15

1шт.

Выбрано товаров: 17