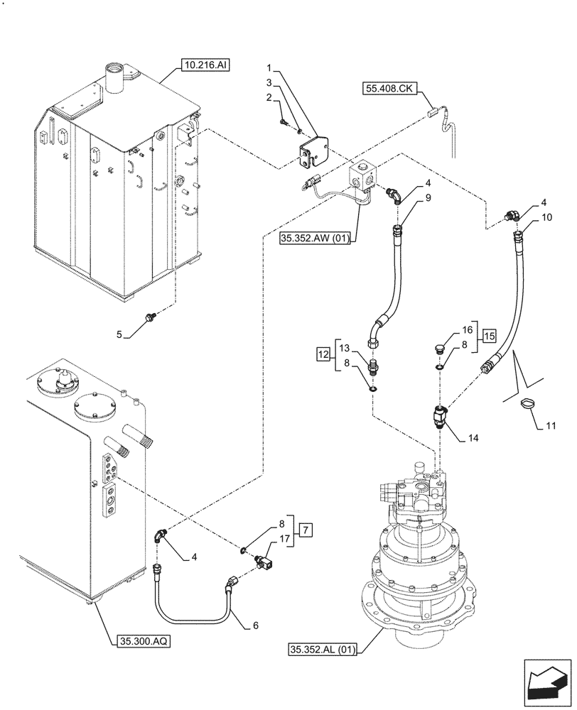
Запчасти Case CX210D LC (35.352.AI[03]) - VAR - 461568 - MOTO-REDUCTION GEAR, LINE, FREE SWING (35) - HYDRAULIC SYSTEMS

Схема запчастей Case CX210D LC - (35.352.AI[03]) - VAR - 461568 - MOTO-REDUCTION GEAR, LINE, FREE SWING (35) - HYDRAULIC SYSTEMS
10.216.ai
16
14
4
10
8
5
9
17
12
8
15
7
2
6
1
3
4
4
13
11
8
35.352.aw (01)
55.408.ck
35.300.aq
35.352.al (01)
FIT
1:1
100%

Артикул

Название

Примечание

Количество

1

KBJ24290

BRACKET

1шт.

2

627-6016

BOLT,Hex, M6 x 1 x 16mm, Cl 10.9, Full Thd

M6 x 16mm

2шт.

3

183-106VR

SPRING WASHER

2шт.

4

KHJ28580

ELBOW

G1/4" x G1/4"

3шт.

5

166350A1

BOLT

M8 x 20mm

2шт.

6

KHJ23500

HOSE

6mm ID x 380mm

1шт.

7

KHJ2773

TEE

ASSY, Incl 8 (Qty 1), 17

1шт.

8

154467A1

O-RING,10.8mm ID x 2.4mm Width

3шт.

9

KBJ11980

HOSE ASSY.

6mm ID x 600mm

1шт.

10

KBJ22090

HYDRAULIC HOSE

6mm ID x 680mm

1шт.

11

150496A1

MOUNTING CLIP

250mm

5шт.

12

152127A1

HYD CONNECTOR,1/4" NPT O-Ring x 1/4" NPT

ASSY, Incl 8 (Qty 1), 13

1шт.

13

NSS

NOT SOLD SEPARAT

Fitting, Incl in 12

1шт.

14

KHJ11640

ORIFICE

1шт.

15

159002A1

PLUG

ASSY, Incl 8 (Qty 1), 16

1шт.

16

NSS

NOT SOLD SEPARAT

Plug, Incl in 15

1шт.

17

NSS

NOT SOLD SEPARAT

T-Fitting, Incl in 7

1шт.

Выбрано товаров: 17