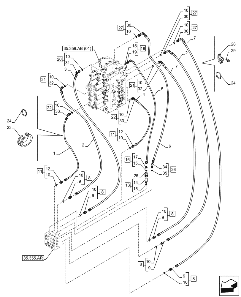
Запчасти Case CX210D LC (35.355.AC[02]) - JOYSTICK, HYDRAULIC LINE, CONTROL VALVE (35) - HYDRAULIC SYSTEMS

Схема запчастей Case CX210D LC - (35.355.AC[02]) - JOYSTICK, HYDRAULIC LINE, CONTROL VALVE (35) - HYDRAULIC SYSTEMS
35.355.ar
10
31
16
5
24
11
10
30
24
6
29
8
13
35
7
10
21
21
19
9
33
10
15
8
10
33
2
10
20
14
11
10
27
9
10
32
8
30
7
10
4
22
9
25
8
10
1
26
34
10
10
22
9
9
18
32
30
12
27
2
27
28
10
15
10
15
23
3
17
8
10
12
35.359.ab (01)
FIT
1:1
100%

Артикул

Название

Примечание

Количество

1

KHJ2057

HOSE

6mm ID x 1450mm

1шт.

2

KHJ2010

HOSE

9mm ID x 1450mm

2шт.

3

KHJ2100

FLEXIBLE HOSE

9mm ID x 1500mm

1шт.

4

KHJ2055

HOSE

6mm ID x 1250mm

1шт.

5

KHJ13800

HOSE

6mm ID x 1350mm

1шт.

6

KHJ2416

HOSE

9mm ID x 1480mm

1шт.

7

KHJ2318

HOSE

9mm ID x 1400mm

2шт.

8

152128A1

HYD CONNECTOR,3/8" NPT O-Ring x 3/8" NPT

ASSY, G3/8" x G3/8", Incl 9 - 10 (Qty 5)

5шт.

9

NSS

NOT SOLD SEPARAT

Fitting, Incl in 8

5шт.

10

154475A1

O-RING

15шт.

11

153378A1

ADAPTER

ASSY, G3/8" x G1/4", Incl 12, 10 (Qty 2)

2шт.

12

NSS

NOT SOLD SEPARAT

Fitting, Incl in 11

2шт.

13

KHJ0719

ELBOW

ASSY, G1/4" x G1/4", Incl 14 - 15 (Qty 1)

1шт.

14

NSS

NOT SOLD SEPARAT

90°-Fitting, Incl in 13

1шт.

15

154467A1

O-RING,10.8mm ID x 2.4mm Width

3шт.

16

152127A1

HYD CONNECTOR,1/4" NPT O-Ring x 1/4" NPT

ASSY, G1/4" x G1/4", Incl 17, 15 (Qty 1)

1шт.

17

NSS

NOT SOLD SEPARAT

Fitting, Incl in 16

1шт.

18

162366A1

ADAPTER

ASSY, Incl 19, 15 (Qty 1)

1шт.

19

NSS

NOT SOLD SEPARAT

Fitting, Incl in 18

1шт.

20

KHJ13900

TEE

ASSY, G3/8" x G1/4" x G3/8", Incl 10 (QTY 1), 31

1шт.

21

KHJ28590

ELBOW

ASSY, G3/8" x G3/8", Incl 10 (Qty 1), 32

2шт.

22

KHJ28690

ELBOW

ASSY, G3/8" x G1/4", Incl 10 (Qty 1), 33

2шт.

23

KRH10610

SEAL PROTECTION

290mm

1шт.

24

150498A1

MOUNTING CLIP

300mm

4шт.

25

KHJ10790

FILTER SCREEN

1шт.

26

KHJ28710

ELBOW

G1/4" x G3/8"

1шт.

27

KHJ28820

ELBOW

"ASSY, G3/8" x G3/8, Incl 10 (Qty 1), 30

3шт.

28

KHR2581

CLAMP

M8

2шт.

29

KHJ1215

BOLT,Spcl

M8 x 25mm

2шт.

30

NSS

NOT SOLD SEPARAT

90° Fitting, Incl in 27

3шт.

31

NSS

NOT SOLD SEPARAT

T Fitting, Incl in 20

1шт.

32

NSS

NOT SOLD SEPARAT

90° Fitting, Incl in 21

2шт.

33

NSS

NOT SOLD SEPARAT

90° Fitting, Incl in 22

2шт.

34

NSS

NOT SOLD SEPARAT

90° Fitting, Incl in 26

1шт.

35

150960A1

O-RING,10.8mm ID x 2.4mm Width

1шт.

Выбрано товаров: 35