Запчасти Case CX210D LC (35.355.AC[08]) - VAR - 461558 - JOYSTICK, HYDRAULIC LINE, CONTROL VALVE, CONTROL PATTERN SELECTION (35) - HYDRAULIC SYSTEMS

Схема запчастей Case CX210D LC - (35.355.AC[08]) - VAR - 461558 - JOYSTICK, HYDRAULIC LINE, CONTROL VALVE, CONTROL PATTERN SELECTION (35) - HYDRAULIC SYSTEMS
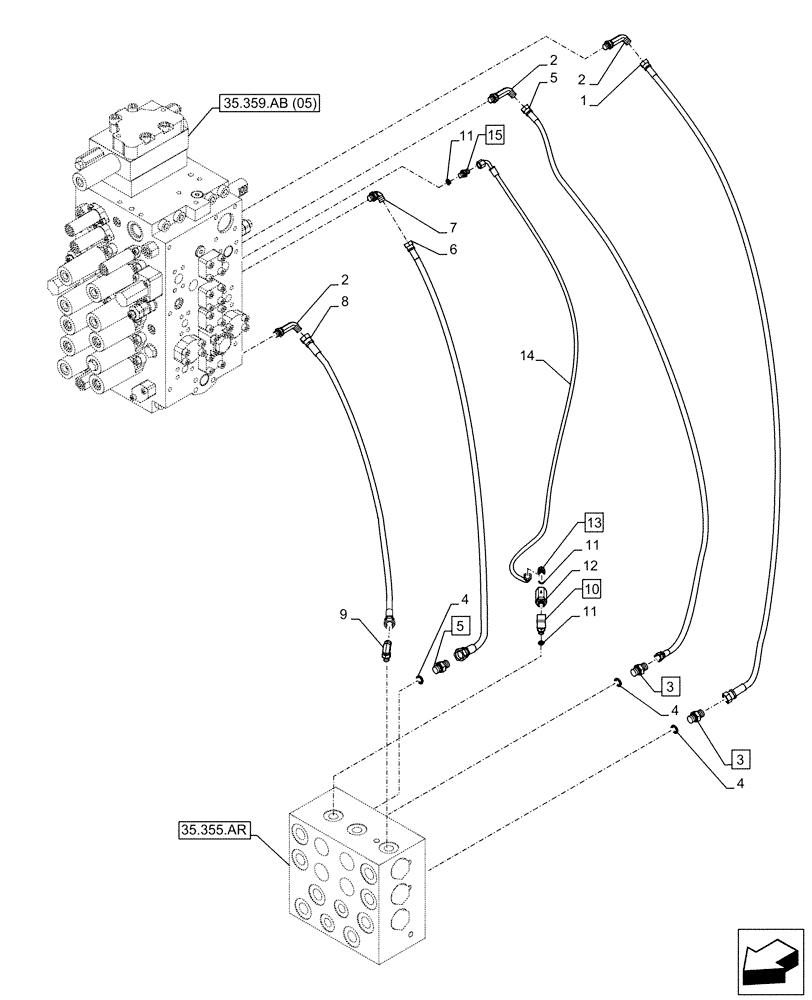
35.355.ar
13
5
8
11
5
4
15
6
1
11
2
14
3
9
3
2
12
7
11
4
4
10
2
35.359.ab (05)
FIT
1:1
100%

Артикул

Название

Примечание

Количество

1

KHJ2318

HOSE

9mm ID x 1400mm

1шт.

2

KHJ28820

ELBOW

G3/8" x G3/8"

3шт.

3

152128A1

HYD CONNECTOR,3/8" NPT O-Ring x 3/8" NPT

ASSY, G3/8" x G3/8", Incl 4 (Qty 2)

2шт.

4

150031A1

O-RING,10mm ID x 24mm OD

3шт.

5

153378A1

ADAPTER

ASSY, G3/8" x G1/4", Incl 4 (Qty 1)

2шт.

6

KHJ2055

HOSE

6mm ID x 1250mm

1шт.

7

KHJ28690

ELBOW

G3/8" x G1/4"

1шт.

8

KHJ2416

HOSE

9mm ID x 1480mm

1шт.

9

KHJ28710

ELBOW

G1/4" x G3/8"

1шт.

10

KHJ0719

ELBOW

G1/4" x G1/4", ASSY, Incl 11

1шт.

11

150960A1

O-RING,10.8mm ID x 2.4mm Width

3шт.

12

KHJ10790

FILTER SCREEN

1шт.

13

152127A1

HYD CONNECTOR,1/4" NPT O-Ring x 1/4" NPT

ASSY, G1/4" x G1/4", Incl 14 (Qty 1)

1шт.

14

KHJ13800

HOSE

6mm ID x 1350mm

1шт.

15

162366A1

ADAPTER

ASSY, Incl 14 (Qty 1)

1шт.

Выбрано товаров: 15