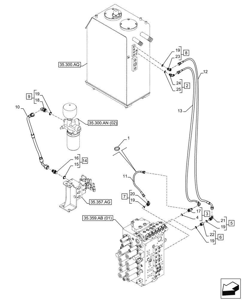
Запчасти Case CX210D LC (35.357.AR[02]) - PILOT VALVE, CONTROL VALVE LINE (35) - HYDRAULIC SYSTEMS

Схема запчастей Case CX210D LC - (35.357.AR[02]) - PILOT VALVE, CONTROL VALVE LINE (35) - HYDRAULIC SYSTEMS
35.359.ab (01)
19
25
8
19
5
16
22
17
18
4
3
6
12
21
13
1
19
23
10
24
20
11
19
7
19
15
2
9
14
35.300.an (02)
35.300.aq
35.357.ag
FIT
1:1
100%

Артикул

Название

Примечание

Количество

1

150496A1

MOUNTING CLIP

1шт.

2

KHJ28580

ELBOW

G1/4" x G1/4", ASSY, Incl 24, 25

1шт.

3

159497A1

TEE

G1/4" x G1/4" x G1/4", ASSY, Incl 4, 17

1шт.

4

154467A1

O-RING,10.8mm ID x 2.4mm Width

1шт.

5

KHJ28590

ELBOW

G3/8" x G3/8", ASSY, Incl 19 (Qty 1), 21

1шт.

6

KHJ13790

STUD

G3/8" x G3/8", ASSY, Incl 19 (Qty 1), 22

1шт.

7

KHJ28690

ELBOW

G3/8" x G1/4", ASSY, Incl 19 (Qty 1), 20

1шт.

8

KHJ13900

TEE

G3/8" x G1/4" x G3/8", ASSY, Incl 19 (Qty 1), 223

1шт.

9

KHJ28640

ELBOW

G3/8" x G3/8", ASSY, Incl 18, 19 (Qty 1)

1шт.

10

KHJ2345

HOSE

9mm ID x 340mm

1шт.

11

KHJ2240

HOSE

6mm ID x 450mm

1шт.

12

KHJ17850

HOSE

09mm ID x 850mm, Serial Range: -C0466

1шт.

12

KHJ33790

HOSE

09mm ID x 800mm, Start Serial: D0466

1шт.

13

KHJ2195

HOSE

6mm ID x 680mm

1шт.

14

152128A1

HYD CONNECTOR,3/8" NPT O-Ring x 3/8" NPT

ASSY, Incl 15, 16

1шт.

15

154475A1

O-RING

1шт.

16

NSS

NOT SOLD SEPARAT

Fitting, Incl in 14

1шт.

17

NSS

NOT SOLD SEPARAT

T-Fitting, Incl in 3

1шт.

18

NSS

NOT SOLD SEPARAT

90° Fitting, Incl in 9

1шт.

19

150031A1

O-RING,10mm ID x 24mm OD

5шт.

20

NSS

NOT SOLD SEPARAT

90° Fitting, Incl in 7

1шт.

21

NSS

NOT SOLD SEPARAT

90° Fitting, Incl in 5

1шт.

22

NSS

NOT SOLD SEPARAT

Fitting, Incl in 6

1шт.

23

NSS

NOT SOLD SEPARAT

Fitting, Incl in 8

1шт.

24

NSS

NOT SOLD SEPARAT

Fitting, Incl in 2

1шт.

25

150960A1

O-RING,10.8mm ID x 2.4mm Width

1шт.

Выбрано товаров: 26