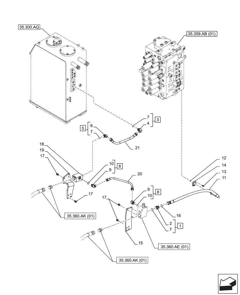
Запчасти Case CX210D LC (35.360.AB[01]) - VAR - 461865 - 461561 - HAMMER CIRCUIT, LINES (35) - HYDRAULIC SYSTEMS

Схема запчастей Case CX210D LC - (35.360.AB[01]) - VAR - 461865 - 461561 - HAMMER CIRCUIT, LINES (35) - HYDRAULIC SYSTEMS
35.359.ab (01)
2
13
18
3
17
6
7
11
1
7
9
8
19
9
17
16
7
21
15
4
14
10
17
20
12
5
10
8
35.300.aq
35.360.ae (01)
35.360.ak (01)
35.360.ak (01)
FIT
1:1
100%

Артикул

Название

Примечание

Количество

1

KHJ1349

ADAPTER

ASSY, Incl 2, 7 (Qty 1)

1шт.

2

NSS

NOT SOLD SEPARAT

Fitting, Incl in 1

1шт.

3

157581A1

ELBOW,90 Degree, 1" O-Ring x 1"

G1" x G1", ASSY, Incl 4, 7 (Qty 1)

1шт.

4

NSS

NOT SOLD SEPARAT

90°-Fitting, Incl in 3

1шт.

5

157587A1

ELBOW

G1" x G1", ASSY, Incl 6, 7 (Qty 1)

1шт.

6

NSS

NOT SOLD SEPARAT

45°-Fitting, Incl in 5

1шт.

7

154523A1

O-RING

3шт.

8

157586A1

ELBOW

G3/4" x G3/4", ASSY, Incl 9 - 10

2шт.

9

NSS

NOT SOLD SEPARAT

45°-Fitting, Incl in 8

2шт.

10

154503A1

O-RING

2шт.

11

KRJ36930

HYDRAULIC HOSE

25mm ID x 870mm

1шт.

12

155211A1

O-RING

1шт.

13

862-10030

HEX SOC SCREW,M10 x 30mm, Cl 12.9

4шт.

14

153459A1

FLANGE

2шт.

15

KRJ11470

SUPPORT

1шт.

16

KHJ1361

O-RING,0.07" Thk x 0.926" ID

1шт.

17

166352A1

BOLT

M12 x 30mm

12шт.

18

KRJ16400

MANIFOLD VALVE

1шт.

19

KRJ16050

SUPPORT

1шт.

20

KRJ11540

HYDRAULIC HOSE,19.00 mm ID x 670.00 mm

1шт.

21

KBJ19800

HYDRAULIC HOSE

25mm ID x 730mm

1шт.

Выбрано товаров: 21