Запчасти Case CX210D LC (35.360.AJ[02]) - VAR - 461869 - HAMMER, SOLENOID VALVE, LINE, HIGH FLOW, W/ ELECTRICAL PROPORTIONAL CONTROL (35) - HYDRAULIC SYSTEMS

Схема запчастей Case CX210D LC - (35.360.AJ[02]) - VAR - 461869 - HAMMER, SOLENOID VALVE, LINE, HIGH FLOW, W/ ELECTRICAL PROPORTIONAL CONTROL (35) - HYDRAULIC SYSTEMS
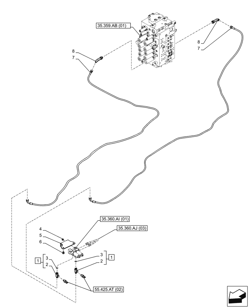
55.425.at (02)
6
3
5
1
1
7
2
2
4
8
3
8
7
35.360.ai (01)
35.360.aj (03)
35.359.ab (01)
FIT
1:1
100%

Артикул

Название

Примечание

Количество

1

167666A1

FITTING

G1/4" x G1/4", ASSY, Incl 2 - 3

2шт.

2

NSS

NOT SOLD SEPARAT

T-Fitting, Incl in 1

2шт.

3

154467A1

O-RING,10.8mm ID x 2.4mm Width

1шт.

4

166345A1

BOLT

M8 x 16mm

2шт.

5

KHJ28770

BRACKET

1шт.

6

166351A1

BOLT,Sems, M10 x 20mm

2шт.

7

KHJ2581

HOSE,6.3 mm ID x 3100.00 mm

6mm ID x 3100mm

2шт.

8

KHJ28880

ELBOW

G3/8" x G1/4"

2шт.

Выбрано товаров: 8