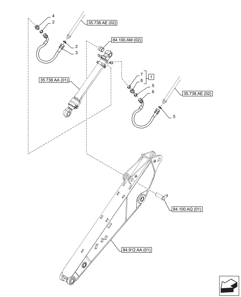
Запчасти Case CX210D LC (35.738.AE[03]) - VAR - 461501 - BUCKET CYLINDER, LINES (ARM L=2.4M) (35) - HYDRAULIC SYSTEMS

Схема запчастей Case CX210D LC - (35.738.AE[03]) - VAR - 461501 - BUCKET CYLINDER, LINES (ARM L=2.4M) (35) - HYDRAULIC SYSTEMS
2
84.912.aa (01)
84.100.am (02)
4
6
7
3
35.738.ae (02)
84.100.aq (01)
35.738.aa (01)
5
1
35.738.ae (02)
8
2
5
FIT
1:1
100%

Артикул

Название

Примечание

Количество

1

KHJ1348

ADAPTER

ASSY, Incl 7 - 8

1шт.

2

KHJ1361

O-RING,0.07" Thk x 0.926" ID

2шт.

3

KRV33220

HYDRAULIC HOSE

1700mm

1шт.

4

KHJ15840

ADAPTER

G3/4"

1шт.

5

KHJ1360

O-RING,0.07" Thk x 0.739" ID

2шт.

6

KRV33211

HYDRAULIC HOSE

19mm ID x 1700mm

1шт.

7

154503A1

O-RING

1шт.

8

NSS

NOT SOLD SEPARAT

Fitting, Incl in 1

1шт.

Выбрано товаров: 8