Качественные детали и логистика
Оригинальные и аналоговые запчасти с доставкой по России, Казахстану и Беларуси
©2022 PartSell ООО "Система" ИНН 2463123282 ОГРН 1212400004838
Центральный офис: г. Красноярск, Академика Киренского, д.87, пом.4
Телефон: 8 (800) 777-65-74 Email: zakaz@partsell.ru
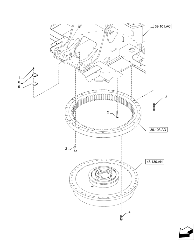
(39.103.AF) - SLEWING RING, MOUNTING, BOLT
№
Артикул
Название
Примечание
Количество
1
166351A1
BOLT,Sems, M10 x 20mm
2шт.
2
165900A1
BOLT,M20 x 100mm, Cl 10.9
3
827-20100
BOLT,Hex, M20 x 2.5 x 100mm, Cl 10.9
29шт.
4
166353A1
BOLT,Flng, M20 x 65mm, Cl 10.9
36шт.
5
KAB0623
PACKING
1шт.
6
KHB13510Y2
COVER
Выбрано товаров: 0