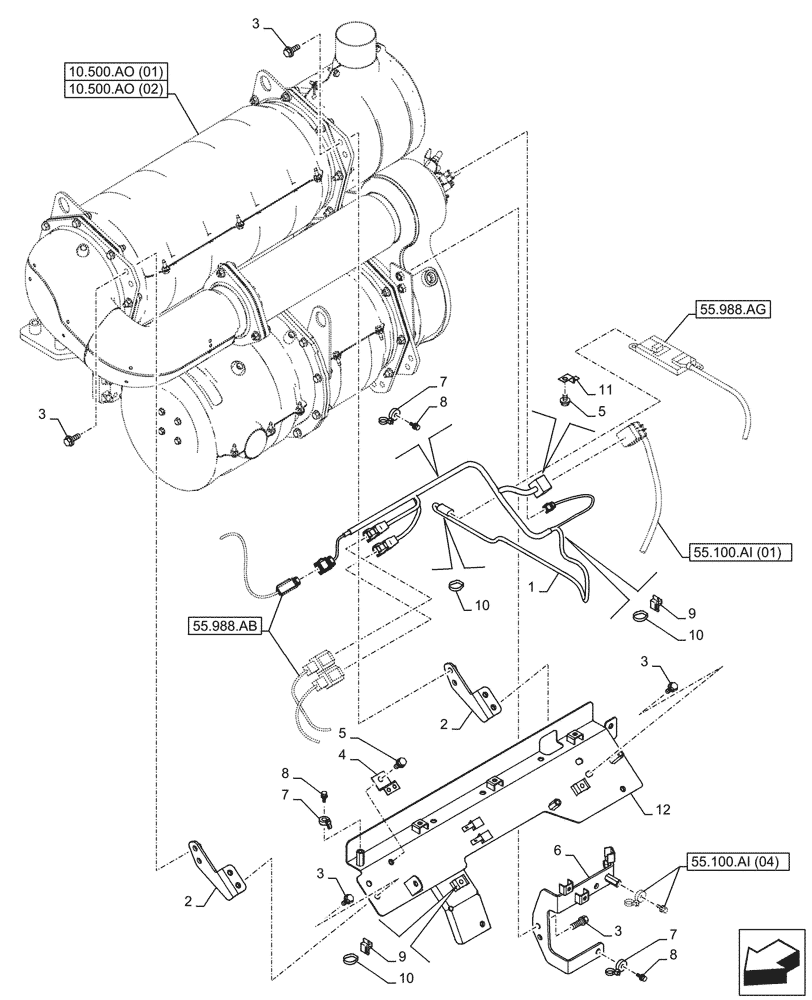
Запчасти Case CX210D LC (55.100.AI[08]) - SELECTIVE, CATALYTIC REDUCTION, MUFFLER, WIRE HARNESS - BSN NGS7H1297 (55) - ELECTRICAL SYSTEMS

Схема запчастей Case CX210D LC - (55.100.AI[08]) - SELECTIVE, CATALYTIC REDUCTION, MUFFLER, WIRE HARNESS - BSN NGS7H1297 (55) - ELECTRICAL SYSTEMS
55.100.ai (04)
9
5
3
2
10
7
12
9
5
10
3
8
10
7
1
7
2
3
8
11
3
4
6
8
3
10.500.ao (02)
55.988.ab
55.988.ag
10.500.ao (01)
55.100.ai (01)
FIT
1:1
100%

Артикул

Название

Примечание

Количество

1

KRR22450

WIRE HARNESS

1шт.

2

KRR21970

BRACKET

2шт.

3

167182A1

BOLT,Sems, M8 x 25mm

10шт.

4

KHR37570

CLIP

1шт.

5

167518A1

BOLT

M8 x 16mm

2шт.

6

KRR22411

BRACKET

1шт.

7

KHR2584

CLAMP

6шт.

8

KHJ1215

BOLT,Spcl

M8 x 25mm

6шт.

9

KHR10220

MOUNTING CLIP

6шт.

10

150496A1

MOUNTING CLIP

1шт.

11

158962A1

CLIP

1шт.

12

KRR22440

BRACKET

1шт.

Выбрано товаров: 12