Запчасти Case CX210D LC (55.100.AI[09]) - SELECTIVE, CATALYTIC REDUCTION, MUFFLER, WIRE HARNESS - ASN NGS7H1298 (55) - ELECTRICAL SYSTEMS

Схема запчастей Case CX210D LC - (55.100.AI[09]) - SELECTIVE, CATALYTIC REDUCTION, MUFFLER, WIRE HARNESS - ASN NGS7H1298 (55) - ELECTRICAL SYSTEMS
55.100.ai (01)
3
10
7
3
10
13
8
10
5
1
10
8
3
8
2
6
3
3
14
2
9
7
3
14
9
9
4
11
7
12
5
55.988.ab
10.500.ao (01)
55.988.ag
10.500.ao (02)
FIT
1:1
100%

Артикул

Название

Примечание

Количество

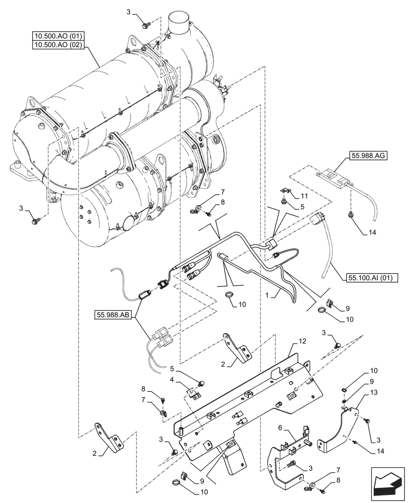
1

KRR23750

WIRE HARNESS

1шт.

2

KRR21970

BRACKET

2шт.

3

167182A1

BOLT,Sems, M8 x 25mm

13шт.

4

KHR37570

CLIP

1шт.

5

167518A1

BOLT

M8 x 16mm

2шт.

6

KRR23820

BRACKET

1шт.

7

KHR2584

CLAMP

6шт.

8

KHJ1215

BOLT,Spcl

M8 x 25mm

6шт.

9

KHR10220

MOUNTING CLIP

1шт.

10

150496A1

MOUNTING CLIP

1шт.

11

158962A1

CLIP

1шт.

12

KRR23830

BRACKET

1шт.

13

KRR23840

BRACKET

1шт.

14

159602A1

BOLT,Sems, Hex, M6 x 16mm

4шт.

Выбрано товаров: 14