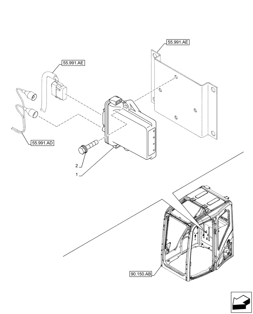
Запчасти Case CX210D LC (55.991.AA) - VAR - 461860 - TELEMATIC SYSTEM, ELECTRONIC CONTROL UNIT (55) - ELECTRICAL SYSTEMS

Схема запчастей Case CX210D LC - (55.991.AA) - VAR - 461860 - TELEMATIC SYSTEM, ELECTRONIC CONTROL UNIT (55) - ELECTRICAL SYSTEMS
55.991.ae
1
90.150.ab
55.991.ae
55.991.ad
2
FIT
1:1
100%

Артикул

Название

Примечание

Количество

1

47714488

ECU

Telematic System Controller

1шт.

2

162056A1

BOLT,Spcl, M6 x 30mm

2шт.

Выбрано товаров: 2